EasyManua.ls Logo

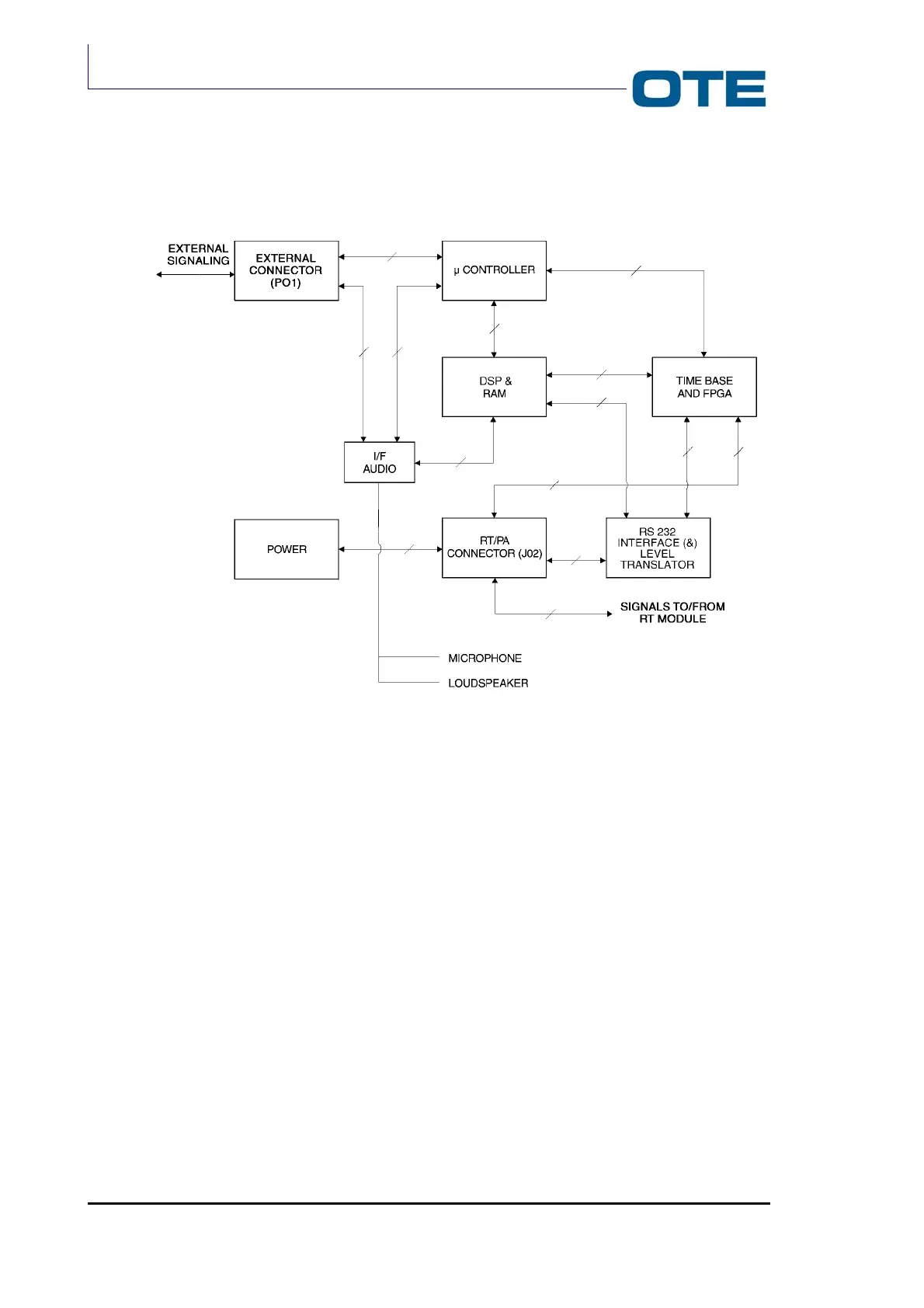
OTE VS 2001 - Fig. 2.6: Base Band Functional Block Diagram

Default Icon
172 pages
Print Icon
To Next Page IconTo Next Page
To Next Page IconTo Next Page
To Previous Page IconTo Previous Page
To Previous Page IconTo Previous Page
Loading...
VS 2001
Technical Handbook
Technical Description
Page 26 Marconi Proprietary information
P/N: 779-0373/02
Revision 02
Fig. 2.6: Base Band functional block diagram
The Base Band card basically comprises the following functional blocks:
I/F Audio;
Microcontroller and Memories;
DSP & RAM;
Asic Time Base;
RS232 interface & Level Translator circuit.
The card also contains:
External connector;
R/T and P.A. card interfacing connectors;
Power Unit.

Table of Contents

Related product manuals