EasyManua.ls Logo

Renesas RL78/F13 - Page 1018

Renesas RL78/F13
1879 pages
Print Icon
To Next Page IconTo Next Page
To Next Page IconTo Next Page
To Previous Page IconTo Previous Page
To Previous Page IconTo Previous Page
Loading...
RL78/F13, F14 CHAPTER 15 SERIAL ARRAY UNIT
R01UH0368EJ0210 Rev.2.10 986
Dec 10, 2015
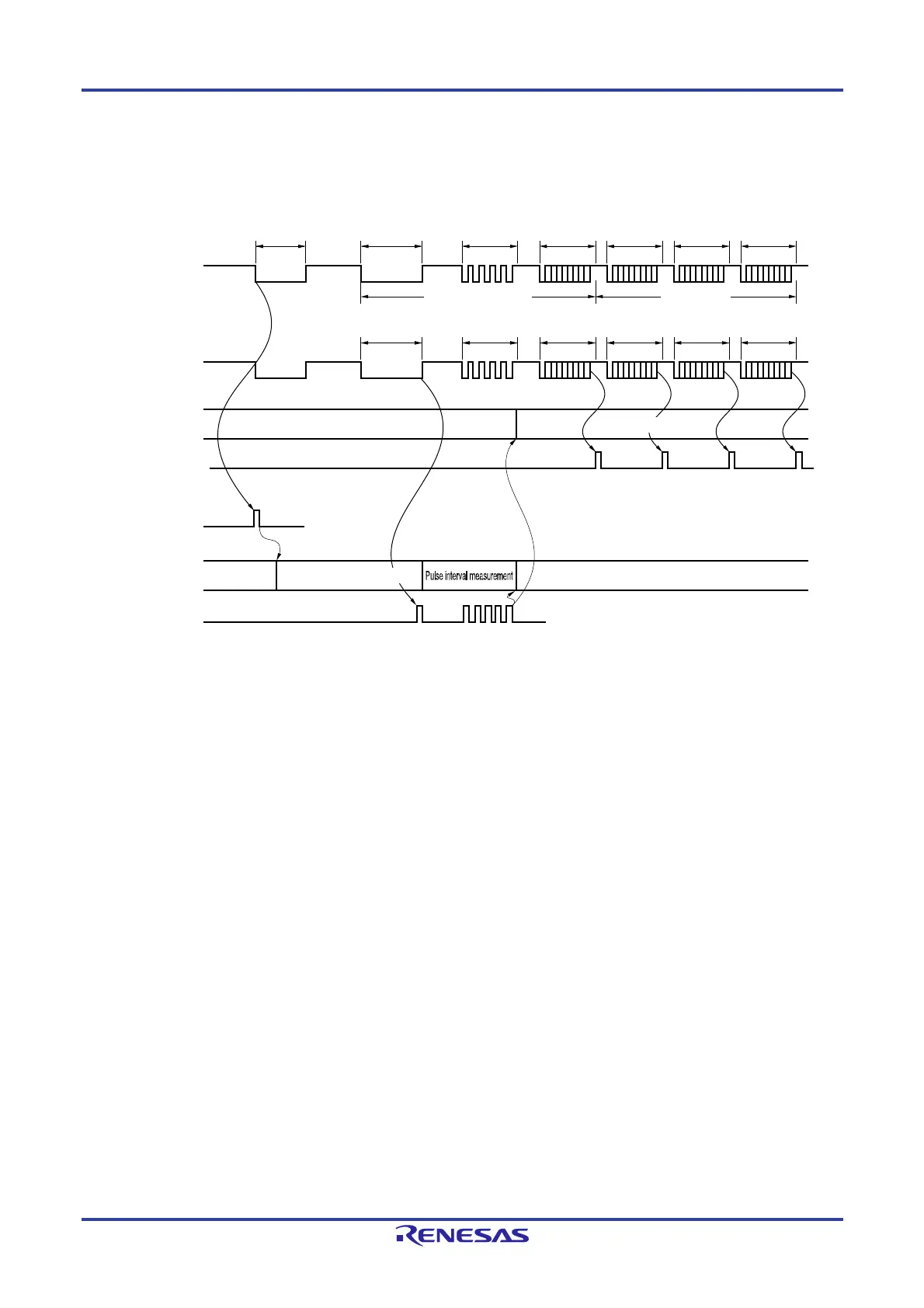
Figure 15-140 outlines a reception operation of LIN.
Figure 15-140. Reception Operation of LIN
Here is the flow of signal processing.
<1> The wakeup signal is detected by detecting an interrupt edge (INTP0) on a pin. When the wakeup signal is detected,
change TM07 to pulse width measurement upon detection of the wakeup signal to measure the low-level width of
the BF signal. Then wait for BF signal reception.
<2> TM07 starts measuring the low-level width upon detection of the falling edge of the BF signal, and then captures
the data upon detection of the rising edge of the BF signal. The captured data is used to judge whether it is the BF
signal.
<3> When the BF signal has been received normally, change TM07 to pulse interval measurement and measure the
interval between the falling edges of the RxD0 signal in the Sync field four times.
<4> When BF reception has been correctly completed, start channel 7 of the timer array unit and measure the bit interval
(pulse width) of the sync field (see 6.7.4 Operation as input pulse interval measurement).
<5> Calculate a baud rate error from the bit interval of sync field (SF). Stop UART0 once and adjust (re-set) the baud
rate.
<6> The checksum field should be distinguished by software. In addition, processing to initialize UART0 after the
checksum field is received and to wait for reception of BF should also be performed by software.
LIN Bus
BF reception
SF
reception
ID
reception
Data
reception
Data
reception
Data
reception
Wakeup signal
frame
Break field
Sync field Identification
field
Data filed Data filed Checksum
field
R
X
D0
INTSR0
Edge detection
(INTP0)
TM07
<1>
<2>
<3> <4>
<5>
STOP Pulse width measurementPulse width measurement
UART0
INTTM07
Reception stopSTOP
Message header Message

Table of Contents

Related product manuals