EasyManua.ls Logo

Renesas RL78/F13 - Page 1566

Renesas RL78/F13
1879 pages
Print Icon
To Next Page IconTo Next Page
To Next Page IconTo Next Page
To Previous Page IconTo Previous Page
To Previous Page IconTo Previous Page
Loading...
RL78/F13, F14 CHAPTER 23 STANDBY FUNCTION
R01UH0368EJ0210 Rev.2.10 1534
Dec 10, 2015
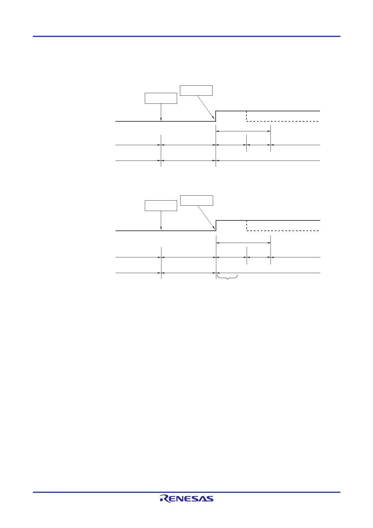
Figure 23-6. STOP Mode Release by Interrupt Request Generation (2/2)
(2) When high-speed system clock (external clock input) is used as CPU clock
(3) When high-speed on-chip oscillator clock is used as CPU clock
Notes 1. For details of the standby release signal, see Figure 21-1. Basic Configuration of Interrupt Function.
2. STOP mode release time
Supply of the clock is stopped
When FRQSEL4 = 1 in the user option byte (000C2H/020C2H):
18 s to 105 s
When FRQSEL4 = 0 in the user option byte (000C2H/020C2H):
18 s to 65 s
Wait
When vectored interrupt servicing is carried out: 7 clocks
When vectored interrupt servicing is not carried out: 1 clock
Remarks 1. The clock supply stop time varies depending on the temperature conditions and STOP mode period.
2. The broken lines indicate the case when the interrupt request that has released the standby mode is
acknowledged.
Interrupt
request
STOP
instruction
Standby release signal
Note 1
Status of CPU
High-speed
system clock
(external clock input)
Oscillates
Normal operation
(high-speed
system clock)
STOP mode
Oscillation stopped
Oscillates
Normal operation
(high-speed
system clock)
Wait
Supply of the
clock is stopped
STOP mode release time
Note 2
Standby release signal
Note 1
Status of CPU
High-speed on-chip
oscillator clock
Normal operation
(high-speed on-chip
oscillator clock)
Oscillates
STOP mode
Oscillation stopped
Wait for oscillation
accuracy stabilization
Interrupt
request
STOP
instruction
Normal operation
(high-speed on-chip
oscillator clock)
Oscillates
Wait
Supply of the
clock is stopped
STOP mode release time
Note 2

Table of Contents

Related product manuals