EasyManua.ls Logo

Samsung SCL770 - Rev

Samsung SCL770
174 pages
Print Icon
To Next Page IconTo Next Page
To Next Page IconTo Next Page
To Previous Page IconTo Previous Page
To Previous Page IconTo Previous Page
Loading...
Samsung Electronics1-28
Operation
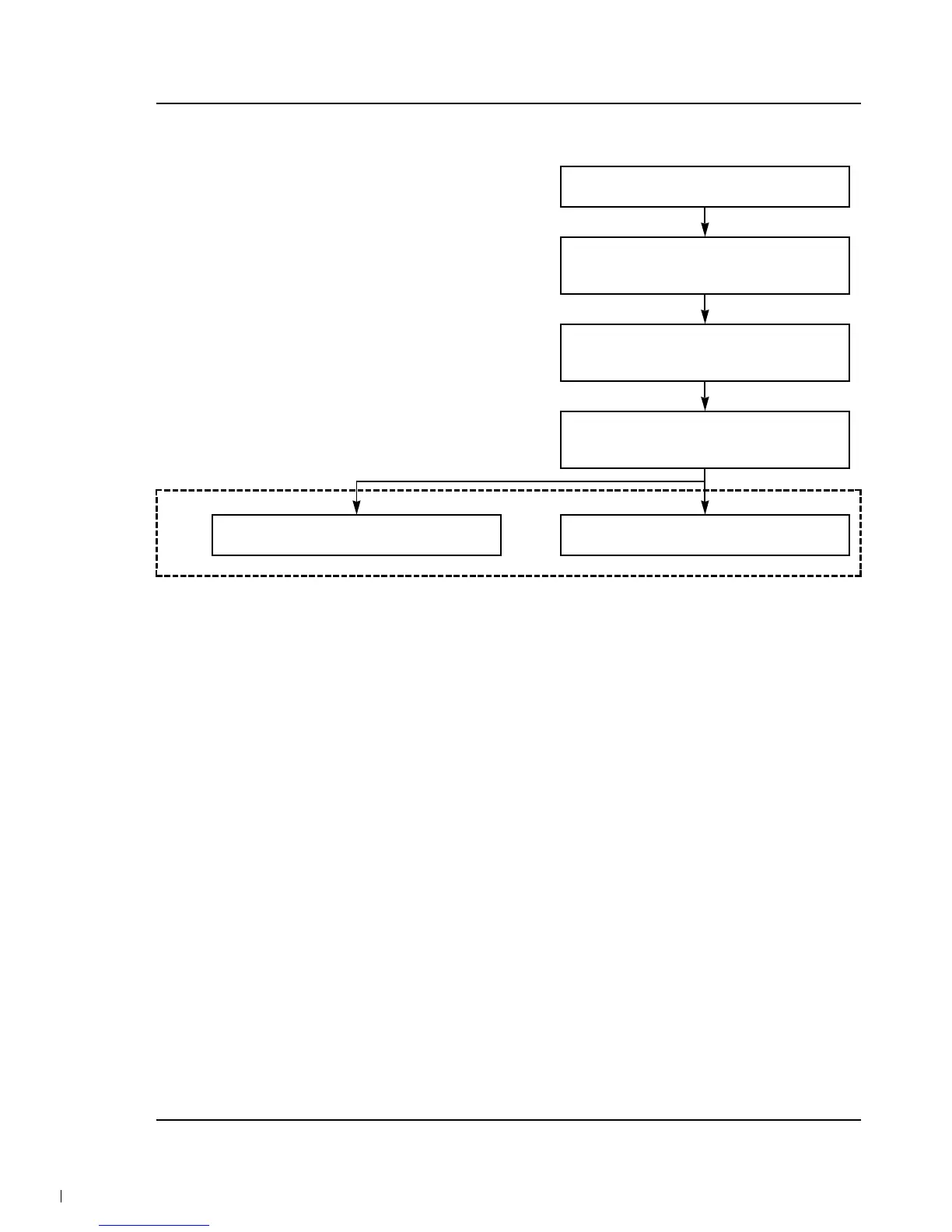
1-4-9 REV
Push REW key.
Motor Capstan stops and then rotates in
reverse approx. 7 times faster.
Gear Capstan and Belt Timing, Gear Pulley,
Gear Idler rotate.
Gear Idler contacts Reel S.
Reel S rotates in reverse approx. 7 times
faster.
Reel T rotates in reverse approx. 7 times
faster.
* Tape which is fed by Motor Capstan is wound up to Reel S.

Table of Contents

Related product manuals