EasyManua.ls Logo

Siemens FC700A - Panel Connections

Siemens FC700A
108 pages
Print Icon
To Next Page IconTo Next Page
To Next Page IconTo Next Page
To Previous Page IconTo Previous Page
To Previous Page IconTo Previous Page
Loading...
B3Q580 Floor repeater panel and B3Q590/B3Q595 Floor repeater panel with control functions
107
Siemens Building Technologies 007831_a_en_--.doc
Fire & Security Products 03.2004
26.8 Connections B3Q580
LON-Bus
B3Q580
1
2
3
4
5
6
Terminal block
K1
not used
+
Supply: 9...45VDC
F1
from E3I040 or previous LON device
to next LON device
R1
0V
-
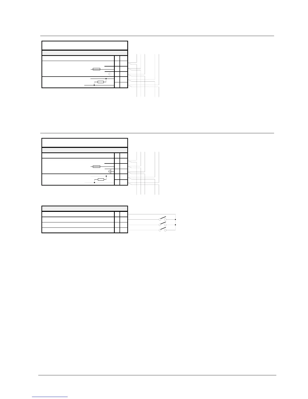
26.9 Connections B3Q590/B3Q595
B3Q590/B3Q595
1
2
3
4
5
6
Terminal block
K1
+
F1
LON-Bus
1
2
3
4
Terminal block
K2
GND
Input programmable LED 3
Input programmable LED 2
Input programmable LED 1
0V
Use ground potential to control inputs
(if input is connected to ground, LED is active)
Supply: 9...45VDC
not used
from E3I040 or previous LON device
R1
to next LON device
0V
-

Table of Contents

Other manuals for Siemens FC700A

Related product manuals