EasyManua.ls Logo

Suzuki AN650 2002 - Engine Remounting

Suzuki AN650 2002
463 pages
To Next Page IconTo Next Page
To Next Page IconTo Next Page
To Previous Page IconTo Previous Page
To Previous Page IconTo Previous Page
Loading...
3-10 ENGINE
ENGINE REMOUNTING
Reinstall the engine assembly following the procedure below:
Assembling of center stand (11-26)
Installation of final gear case (4-7)
Installation of rear wheel (9-56)
Installation of CVT unit (5-4)
Installation of rear brake caliper (9-81)
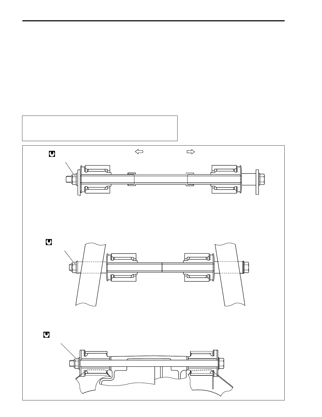
Pass through the engine mounting bolts from the right side of
the frame.
Tighten the engine mounting nuts to the specified torque.
The engine mounting nut is the self-lock type and can-
not be used repeatedly. If the self-lock effect is lost,
replace it with new one.
55 N·m
(5.5 kgf-m)
55 N·m
(5.5 kgf-m)
55 N·m
(5.5 kgf-m)
Front lower side
Left Right
Front upper side
Rear side

Table of Contents

Related product manuals