EasyManua.ls Logo

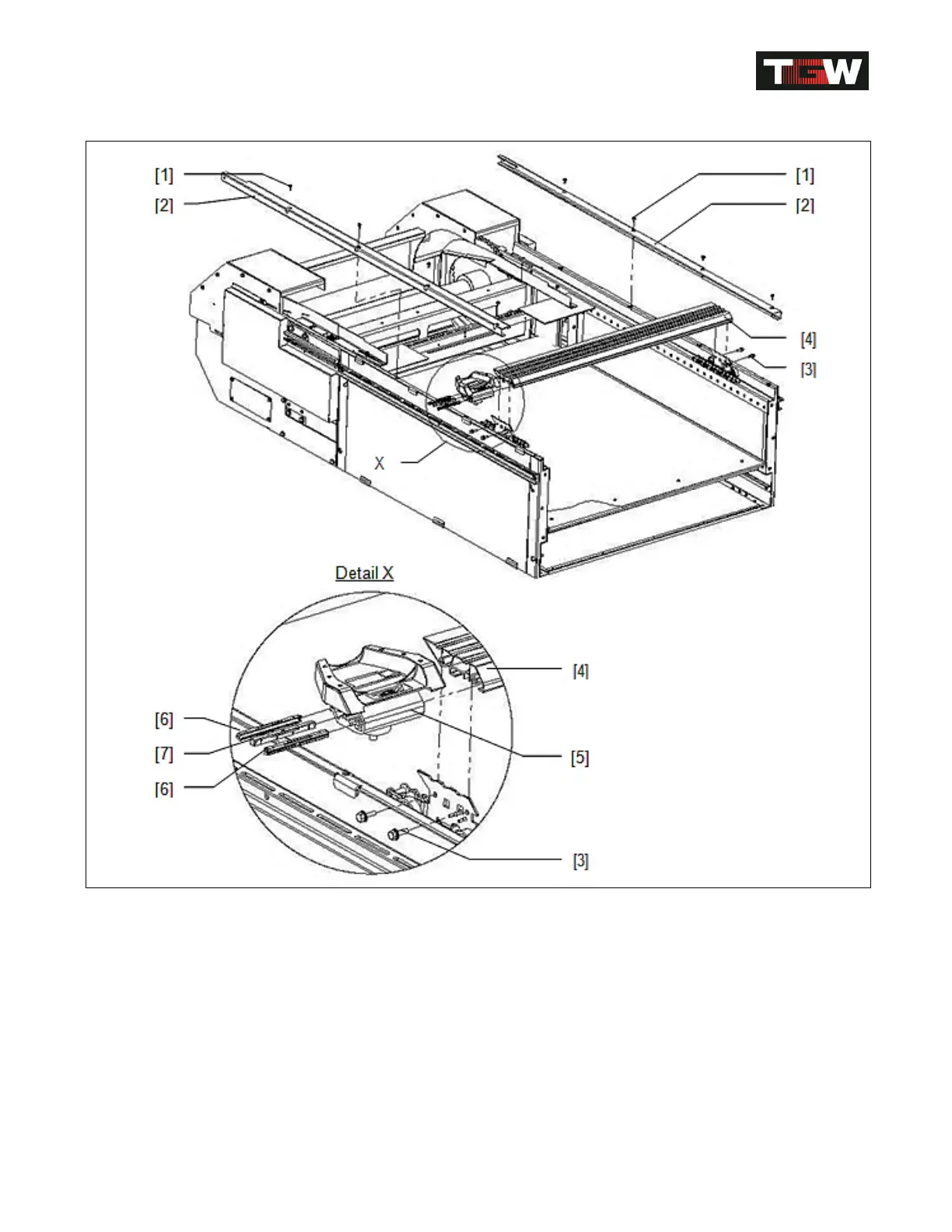
TGW Natrix - Replace Sliding Shoe

Default Icon
111 pages
Print Icon
To Next Page IconTo Next Page
To Next Page IconTo Next Page
To Previous Page IconTo Previous Page
To Previous Page IconTo Previous Page
Loading...
Natrix IOM
Replace Sliding Shoe
Revision Date: 12/10/2014 Page 60 of 111

Table of Contents