EasyManua.ls Logo

Vivotek NR9581 - Page 20

Vivotek NR9581
301 pages
Print Icon
To Next Page IconTo Next Page
To Next Page IconTo Next Page
To Previous Page IconTo Previous Page
To Previous Page IconTo Previous Page
Loading...
VIVOTEK - A Leading Provider of Multimedia Communication Solutions
20 - User's Manual
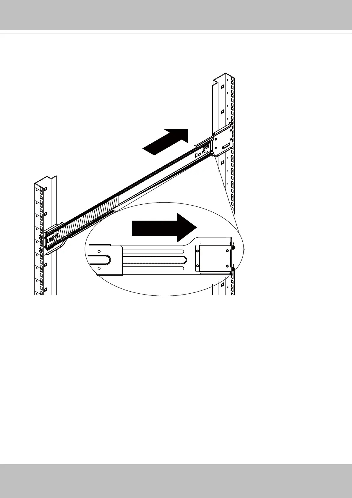
5. Extend the rails as necessary, and repeat the previous step to hang the slide rails to four rack
posts.

Table of Contents

Other manuals for Vivotek NR9581

Related product manuals