EasyManua.ls Logo

Yamaha F40BWHD - Disassembling;Assembling the Tiller Handle Assembly; MM (0.024 In)

Yamaha F40BWHD
537 pages
Print Icon
To Next Page IconTo Next Page
To Next Page IconTo Next Page
To Previous Page IconTo Previous Page
To Previous Page IconTo Previous Page
Loading...
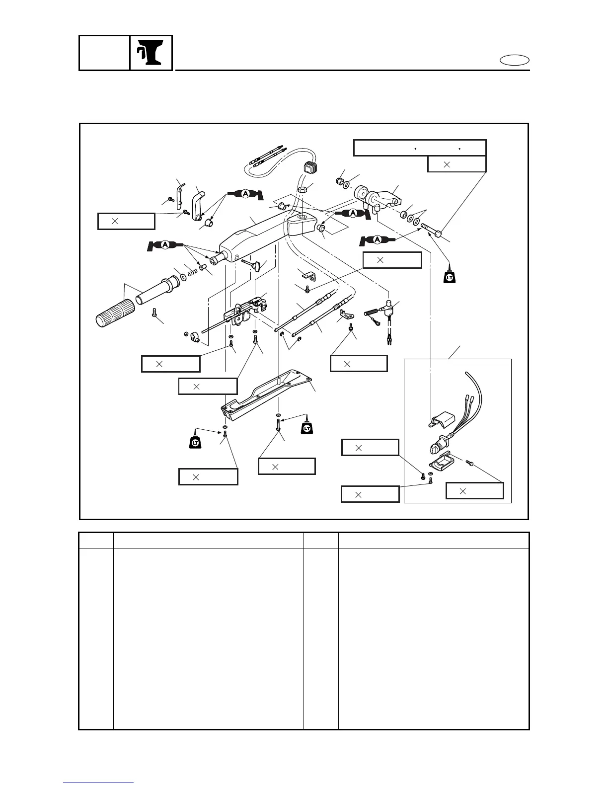
TILLER HANDLE ASSEMBLY
7-3
E
BRKT
DISASSEMBLING/ASSEMBLING THE TILLER HANDLE ASSEMBLY
1
2
3
4
5
6
7
8
9
6 16 mm
6 40 mm
10
11
12
13
14
15
16
17
18
19
20
21
22
23
24
25
26
27
28
29
30
31
32
33
34
35
34
572
572
6 26 mm
8 40 mm
37 Nm(3.7 m kgf, 27 ft lb)
12 80 mm
6 14 mm
6 14 mm
6 30 mm
6 14 mm
572
6 24 mm
6 20 mm
Order Job/Part Q’ty Remarks
1 Screw 5
2 Screw 2
3 Cover 1
4Nut 1
5 Engine stop switch 1
6 Main switch assembly 1 (WHD)
7Bolt 1
8 Clamp 1 For shift cable
9Bolt 1
10 Clamp 1 For throttle cable
11 Circlip 2
12 Shift cable 1 Long
13 Throttle cable 1 Short
Continued on next page.

Table of Contents

Other manuals for Yamaha F40BWHD

Related product manuals