EasyManua.ls Logo

Yamaha F40BWHD - Removing;Installing the Upper Case Assembly; Upper Case Assembly

Yamaha F40BWHD
537 pages
Print Icon
To Next Page IconTo Next Page
To Next Page IconTo Next Page
To Previous Page IconTo Previous Page
To Previous Page IconTo Previous Page
Loading...
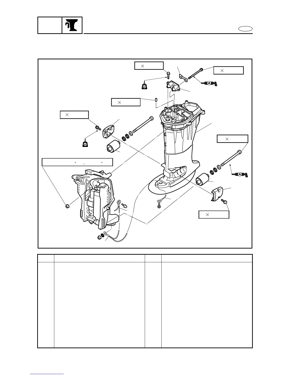
BRKT
7-8
UPPER CASE ASSEMBLY
E
UPPER CASE ASSEMBLY
REMOVING/INSTALLING THE UPPER CASE ASSEMBLY
572
1
2
4
3
5
6
23.6 Nm(2.4 m kgf 17.4 ft lb)
1
2
3
3
8 30 mm
572
8 30 mm
8
30 mm
8 175 mm
12 170 mm
8 12 mm
Order Job/Part Q’ty Remarks
Lower unit Refer to "LOWER UNIT" on page 6-1.
Bottom cowling Refer to "BOTTOM COWLING" on
page 7-7.
1 Lower mount housing 2
2 Lower rubber damper (side) 2
3 Ground lead 1
4 Upper damper 1
5 Plate 1
6 Upper case assembly 1
For installation, reverse the removal
procedure.

Table of Contents

Other manuals for Yamaha F40BWHD

Related product manuals