EasyManua.ls Logo

Advanced Navigation GNSS Compass - 5.2.3 Mechanical Drawings

Advanced Navigation GNSS Compass
136 pages
Print Icon
To Next Page IconTo Next Page
To Next Page IconTo Next Page
To Previous Page IconTo Previous Page
To Previous Page IconTo Previous Page
Loading...
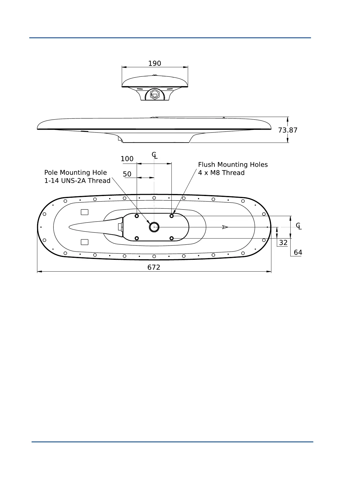
5.2.3 Mechanical Drawings
Figure 5: Mechanical Drawings of GNSS Compass
v2.0 Page 14 04 Nov 2021
GNSS Compass Reference Manual Specifications

Table of Contents