EasyManua.ls Logo

Astraada SRV-64 - System Wiring

Astraada SRV-64
325 pages
Print Icon
To Next Page IconTo Next Page
To Next Page IconTo Next Page
To Previous Page IconTo Previous Page
To Previous Page IconTo Previous Page
Loading...
AS64 series AC servo drive Wiring instructions
-20-
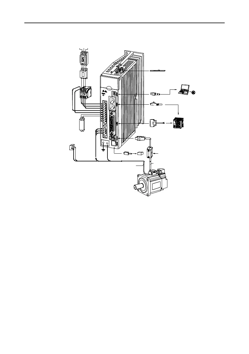
3.1 System wiring
Mi ni US B ca b le
Ca ble to co n n e ct
sa fety de vic e
Mo to r m a in -circuit
ca ble
Enc o d er co n n e ctio n
ca ble
Battery u nit
(n eed e d w h e n ab so lu te
en co d e r is us ed)
Safety device
Servo m otor
External
reg enerative
brake resistor
Brake power
(D C 2 4 V , u ser
pr ovide d
To tu rn on /o ff th e
se rv o p ow e r. If it is
ne ed ed , in sta ll the
su rg e s up pr es so r.
Sig nal ( I/O ) ca b le
CA N /R S 4 85
co m m u ni ca tion
Upper device
Enc o d er sig na l
Grating ruler
Com puter
To cu t o ff th e
cir cu it if p ow e r
ca ble ov e r curren t
oc cu rs.
To pre vent e xte rn al
no is e o f the p o we r
ca ble.
Noise filter
Electro magn etic
contactor
Breaker
L1 L2 L3
Power
Before turning on the drive input power, ensure that the input power supply specifications indicated
on the nameplate are consistent with those of the grid.
The electromagnetic contactor is used to switch on or off the main-circuit power supply of the
servo drive. Do not use this contactor to start or stop the servo drive.
In the figure, as the external regenerative brake resistor is connected, the connection cable
between B2 and B3 must be removed. For details about the connection, see section 3.2 "Main
circuit terminal wiring". The resistor must be installed on nonflammable material with good heat
dissipation performance, such as metal.

Table of Contents