EasyManua.ls Logo

Astraada SRV-64 - Auxiliary Function Mode

Astraada SRV-64
325 pages
Print Icon
To Next Page IconTo Next Page
To Next Page IconTo Next Page
To Previous Page IconTo Previous Page
To Previous Page IconTo Previous Page
Loading...
AS64 series AC servo drive Operating and running
-73-
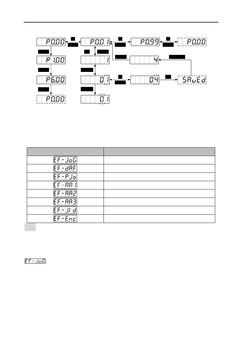
Operation flowchart
SHIFT
SHIFT
SHIFT
UP
DOWN
UP
DOWN
UP
SET MODE
SHIFT
SHIFT
UP
DOWN
SET
󰓇󰯇1󱾣
DOWN
MODE
5.2.5 Auxiliary function mode
5.2.5.1 Functions
You can press MODE to enter the auxiliary function mode and press UP/DOWN to select auxiliary
functions.
Function
Program Jog
Factory restore
Program jogging
Zero-drift clearing for analog input 1
Zero-drift clearing for analog input 2
Zero-drift clearing for analog input 3
Inertia identifying
Absolute encoder clearing
Note: All auxiliary functions can be executed only when the servo is disabled. The auxiliary function
menu is inaccessible when the servo is enabled.
5.2.5.2 Jogging test
You can press MODE to switch to the auxiliary function mode. You can press UP/DOWN to enter the
menu and press SET to enter the jogging test screen, displaying the current rotation
speed of the motor. If you press and hold UP, the motor rotates at the specified speed
counterclockwise. It stops if you releases the key. If you press and hold DOWN, the motor rotates at
the specified speed clockwise. It stops if you releases the key.

Table of Contents