EasyManua.ls Logo

Boss MICRO BR - Putting Multiple Tracks Together (Bounce)

Boss MICRO BR
140 pages
Print Icon
To Next Page IconTo Next Page
To Next Page IconTo Next Page
To Previous Page IconTo Previous Page
To Previous Page IconTo Previous Page
Loading...
52
Section 1. Recording and playing back
Although the MICRO BR allows the
simultaneous playback of four tracks, when you
run out of tracks, the MICRO BR also lets you
copy the recordings of multiple tracks together
onto one track (V-Track). This is called “bounce”
(also known as bounce recording or ping-pong
recording).
By combining multiple tracks in this way, you
can free up other tracks in order to record
additional performances.
In the following example, we’ll assume that
tracks 1 and 2 contain mono recordings and
tracks 3 and 4 contain a stereo-recorded
performance, and you want to bounce-record all
of these to V-track 2 of tracks 3/4.
* Make sure that the Stereo Link function does not on
1.
Set the pan of tracks 1 and 2 as desired,
set the track 3 pan to L50, and the track 4
pan to R50.
“Adjusting the left/right position (pan) of the
playback (p. 46)”
2.
Play back the song, and adjust the
volume balance of tracks 1–4.
If there are tracks that you don’t want to
mix, set their level to 0.
“Adjusting the volume of a track (p. 35)”
3.
Press .
4.
Simultaneously press [EXIT] and
[UTILITY] several times to make the
display indicate .
The Bounce screen will appear.
fig.Disp-bounce-mode2.eps
* The input source will automatically be turned off. If you
want to mix the input source along with your bounce-
recording, you can use [INPUT] to select the input
source.
5.
Use CURSOR [ ][ ] and VALUE [-][+]
to select the recording-destination tracks
and V-track.
In this example, we’ll use “34V2” (V-track 2
of tracks 3/4).
fig.Disp-bounce-mode2.eps
“Switching V-tracks (p. 42)”
6.
If you also want to mix the rhythm into
your bounce-recording, press [RHYTHM],
raise the “Rhy Level,” and press [TR1]
several times to turn rhythm “On.”
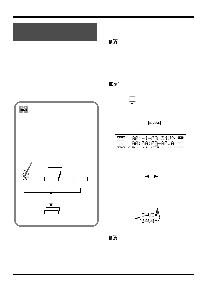
Putting multiple tracks
together (Bounce)
In Bounce mode, you can play back four
tracks simultaneously and record them all
to a single, separate V-Track.
When input sources are selected with
INPUT SELECT, you can have those sounds
recorded together.
Furthermore, you can include the sounds
from the Rhythm in the recording.
fig.01-280
TRACK 4-V1
TRACK 3-V1
TRACK 2-V1
TRACK 1-V1
RHYTHM
Track 1–4
TRACK 4-V2
TRACK 3-V2
Separate V-Track
INPUT Rhythm
V-Tracks without data.
Recording
Destination
V-Tracks with recorded data.
MICRO-BR_e.book 52 ページ 2009年5月28日 木曜日 午後2時26分

Table of Contents

Related product manuals