EasyManua.ls Logo

Cardinal 825 - Page 149

Cardinal 825
156 pages
Print Icon
To Next Page IconTo Next Page
To Next Page IconTo Next Page
To Previous Page IconTo Previous Page
To Previous Page IconTo Previous Page
Loading...
8545-M838-O1 Rev D 825 Installation & Technical
143
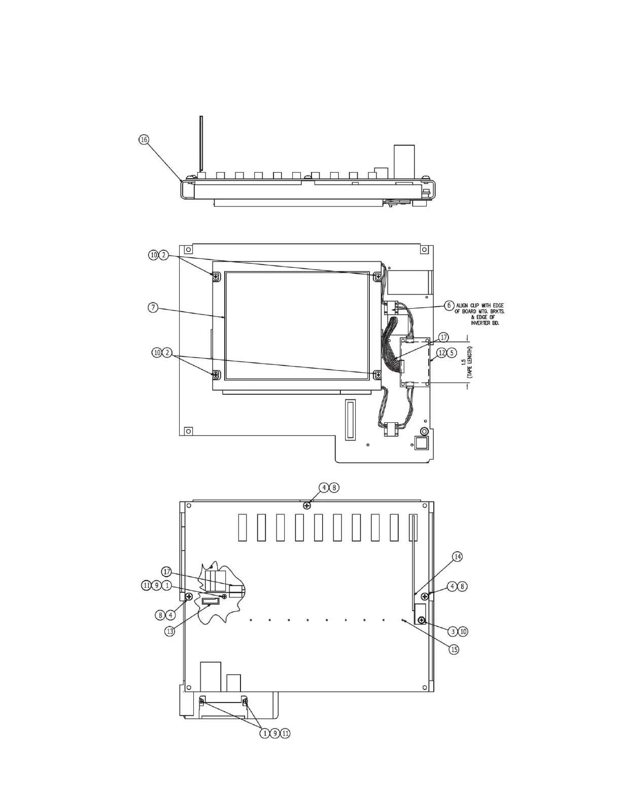
PART IDENTIFICATION
(ITEM # 19, 8545-D835-1A, SUB-CHASSIS ASSEMBLY LED)

Table of Contents

Related product manuals