EasyManua.ls Logo

Fuji Electric Frenic Mega Series - Page 104

Fuji Electric Frenic Mega Series
774 pages
To Next Page IconTo Next Page
To Next Page IconTo Next Page
To Previous Page IconTo Previous Page
To Previous Page IconTo Previous Page
Loading...
3.2 Overview of Operation Modes
3-5
Chapter 3
KEYPAD FUNCTIONS
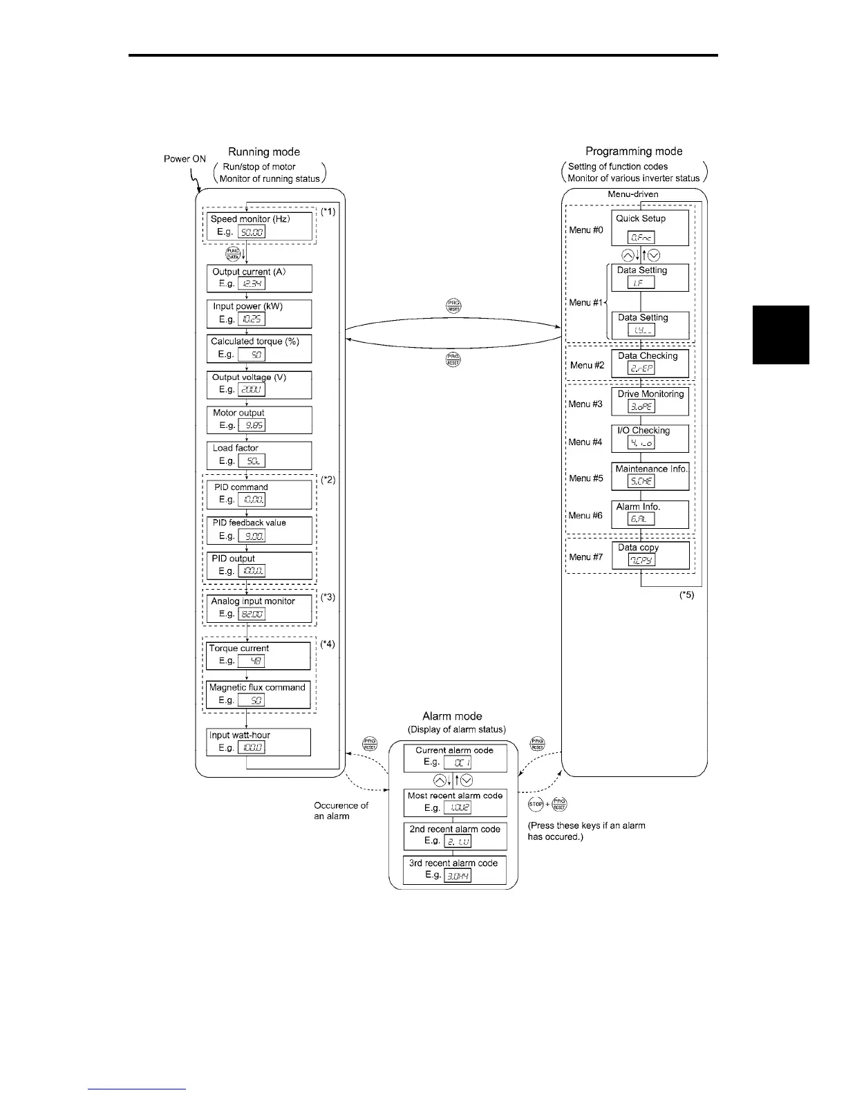
The figure below illustrates the transition of the LED monitor screen during Running mode, the transition
between menu items in Programming mode, and the transition between alarm codes at different
occurrences in Alarm mode.
(*1) The speed monitor allows you to select the desired one from the speed monitor items by using
function code E48.
(*2) Applicable only when PID control is active (J01 = 1 to 3)
(*3) The analog input monitor can appear only when the analog input monitor function is assigned to any of
the analog input terminals by any of function codes E61 to E63.
(*4)
0
appears under the V/f control.
(*5) Applicable only when the full-menu mode is selected (E52 = 2).
Figure 3.2-2 Transition between Basic Screens in Individual Operation Mode

Table of Contents

Related product manuals