EasyManua.ls Logo

GEA ARIETE - Page 384

GEA ARIETE
556 pages
Print Icon
To Next Page IconTo Next Page
To Next Page IconTo Next Page
To Previous Page IconTo Previous Page
To Previous Page IconTo Previous Page
Loading...
VLT
®
5000 Series
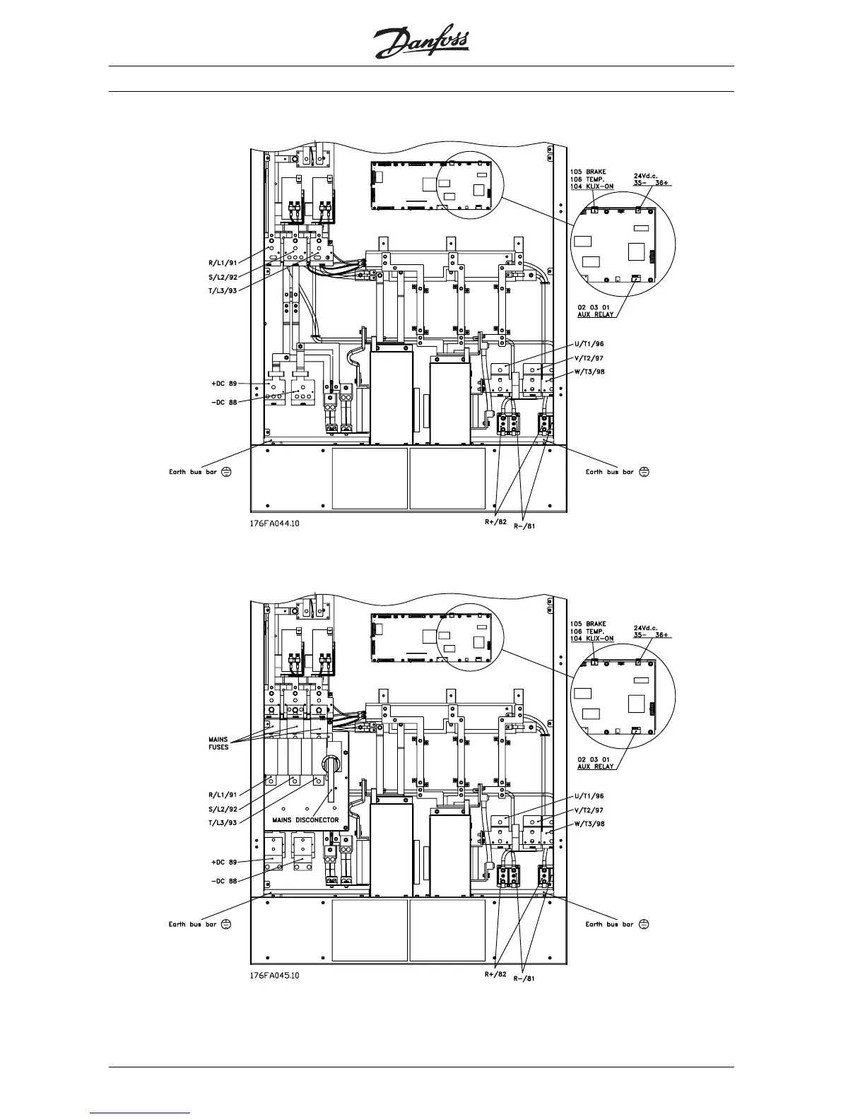
Electrical installation, power cables
Compact IP 20/IP 54
without disconnector and mains fuses
VLT 5300 - 5500 380 - 500 V
Compact IP 20/IP 54
with disconnector and mains fuses
VLT 5300 - 5500 380 - 500 V
MG.51.A1.02 - VLT is a registered Danfoss trade mark
50

Table of Contents

Related product manuals