EasyManua.ls Logo

IAI MCON-C - Page 193

IAI MCON-C
480 pages
Print Icon
To Next Page IconTo Next Page
To Next Page IconTo Next Page
To Previous Page IconTo Previous Page
To Previous Page IconTo Previous Page
Loading...
183
1)
2)
3)
4)
5)
6)
7)
8)
9)
12)
11)
13)
14)
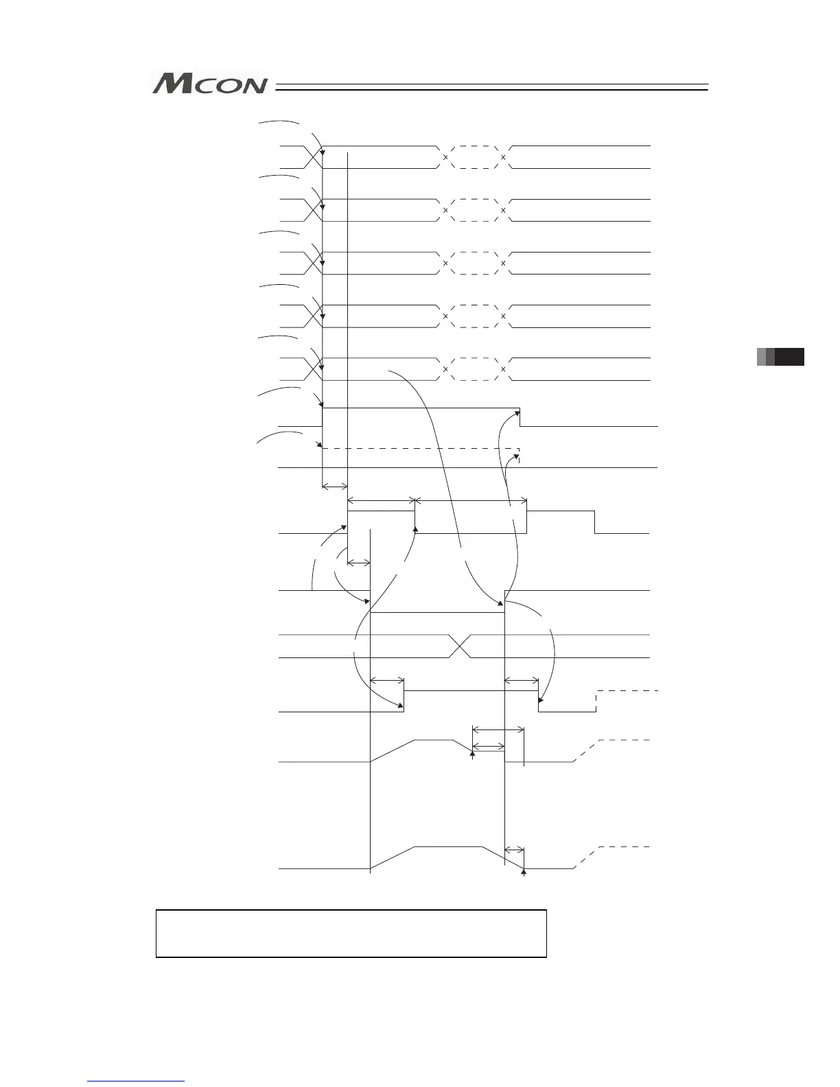
n1
v1
m1
t1
s1
n2 n3
v2 v3
m2 m3
t2
s2 s3
twcsON
twcsOFF
tpdf
n1
Target Position
Data Setting
(PLC→MCON)
Positioning Width Data
/Pressing Width Data
(PLC→MCON)
Speed Data
(PLC→MCON)
Acceleration/
Deceleration Data
(PLC→MCON)
Pressing Current Limit
(PLC→MCON)
Push-motion
Specification
PUSH
(PLC→MCON)
Push Direction
Specification
DIR
(PLC→MCON)
Positioning Start
CSTR
(PLC→MCON)
Position Complete/
Pressing and a Miss
PEND / PSFL
(MCON→PLC)
Current Position
(MCON→PLC)
Moving
MOVE
(MCON→PLC)
Actuator Movement
Pressing Operation
Actuator Movement
Normal Positioning
10ms or less
10ms or less
n2
Push
Target Position
Positioning Width
Positioning Width
0ms or more
Target Position
t3
10)
10)
To turn ON TwcsON, have an interval of time more than 10ms.
To turn OFF TwcsOFF, have an interval of time more than 10ms.
Tdpf = Yt+6+Xt (minimum value) to Yt+6+Xt+12 (maximum value)
3.7 Control and Functions of Input and Output Signals of Modes Other than Remote I/O Mode

Table of Contents

Other manuals for IAI MCON-C

Related product manuals