EasyManua.ls Logo

IAI MCON-C - Page 221

IAI MCON-C
480 pages
Print Icon
To Next Page IconTo Next Page
To Next Page IconTo Next Page
To Previous Page IconTo Previous Page
To Previous Page IconTo Previous Page
Loading...
211
[7] Teaching by PIO (MODE, MODES, PWRT, WEND, JISL, JOG+, JOG-)
Input Output
PIO signal
MODE JISL JOG+ JOG- PWRT MODES WEND
Other than
pattern 1
× × × × × × ×
Pattern 1
{ { { { { { {
{: Existence of signal, ×: No signal
(Note) The feature is available only in pattern 1
.
Teaching by PIO is enabled.
It is possible to select the teaching mode, move the actuator to the target position with jog or
inching operation, and write the coordinate value into any position number.
(1) Teaching Mode Selecting
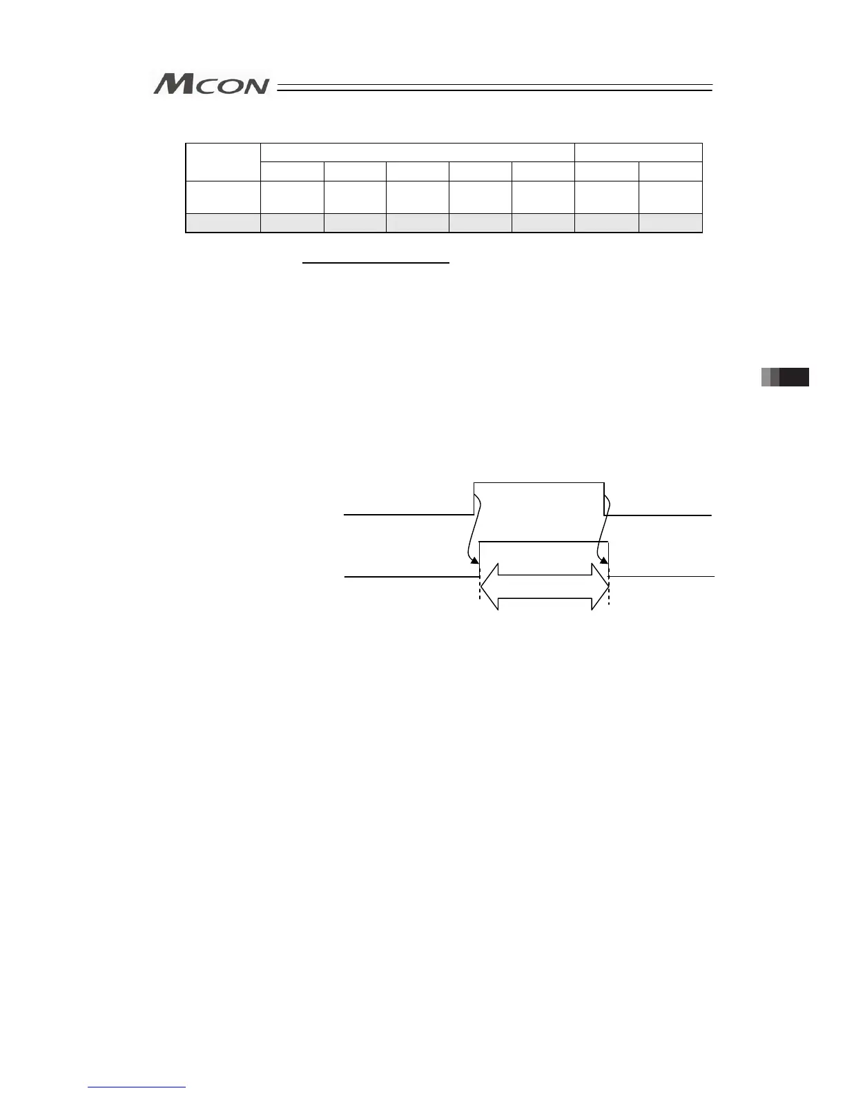
1) To select the teaching mode, set teaching mode signal MODE to ON. If the teaching
mode is selected, mode status signal MODES is turned ON.
While the actuator is operating, MODE signal input is invalid. Therefore, after the
operation is completed, the MODES signal is turned ON.
With the MODES signal being ON, the CSTR signal is changed to teaching signal PWRT.
Therefore, it is not possible to operate the actuator by specifying a position No.
2) To cancel the teaching mode to return to the normal operation mode, set the MODE
signal to OFF. If the MODE signal is turned OFF, the MODES signal is turned OFF to
return to the normal operation mode.
(2) Jog/inching switch and jog input
1) Jog/inching switching signal JISL indicates whether the jog operation
*1
or inching
operation
*2
is performed by the jog input signal.
JISL signal OFF············ Jog operation
JISL signal ON ············· Inching operation
2) There are two jog input signals, or JOG+ for operation in the positive direction and JOG- for
operation in the negative direction.
*1 Jog operation: The actuator is moved while the jog input signal is set to ON.
JOG+···· While JOG+ is set to ON, the actuator is moved in the positive direction. If
JOG+ is turned OFF, the actuator is decelerated and then stopped.
JOG- ···· While JOG- is set to ON, the actuator is moved in the negative direction. If
JOG- is turned OFF, the actuator is decelerated and then stopped.
Velocity ···························· Value set in Parameter No.26 “PIO jog speed”.
Acceleration/Deceleration····· Rating acceleration/deceleration of actuator
Pause Signal *STP ············· Enabled
*2 Inching operation : Once the jog input signal is turned ON, the actuator is moved by a certain
distance.
JOG+···· Once JOG+ is turned ON, the actuator is moved by a certain distance in the
positive direction.
JOG- ···· Once JOG- is turned ON, the actuator is moved by a certain distance in the
negative direction.
Moving distance ················ Value set in Parameter No.48 “PIO inching distance”.
Velocity ···························· Value set in Parameter No.26 “PIO jog speed”.
Acceleration/Deceleration····· Rating acceleration/deceleration of actuator
Pause Signal *STP ············· Enabled
Teaching Mode Signal
MODE
(
PLCController
)
Mode Status Signal
MODES
(ControllerPLC)
Teacing mode selected
3.8 Control and functions of Input and output signals of Remote I/O Mode

Table of Contents

Other manuals for IAI MCON-C

Related product manuals