EasyManua.ls Logo

IAI MCON-C - Page 230

IAI MCON-C
480 pages
Print Icon
To Next Page IconTo Next Page
To Next Page IconTo Next Page
To Previous Page IconTo Previous Page
To Previous Page IconTo Previous Page
Loading...
220
Caution: (1) The speed during pressing operation is set in Parameter No.34. Check the
10.4 List of Specifications of Connectable Actuators for the pressing
operation speed.
Do not set any value larger than the value in the list. If the speed set in the
position table is equal to or less than the pressing speed, the pressing is
performed at the setup speed.
(2) The approach start position of pressing should be located at or before the
pressing start position (coordinate 100mm or less in the above example) If
not, the moving direction varies depending on the start position to be
dangerous.
For example, pressing at coordinate larger than the pressing end position
(larger than 150mm) is performed in the direction from the current position
to the pressing end position. It would not proceed to the pressing operation
at 150mm point after positioning at 100mm point.
(3) The work is pressed after the pressing is completed. The work may moves
backward or forward. If the actuator is moved backward before the
approach position, alarm code 0DC “pressing operation range error” occurs
to stop the actuator. In movement of the work in the pressing direction,
PEND is turned OFF if the load current becomes lower than the current limit
(pressing [%]). Miss-pressing occurs when the actuator moves by the
pressing moving distance set in “Positioning width”.
(4) Pressing control cannot be performed with the rotary actuator.
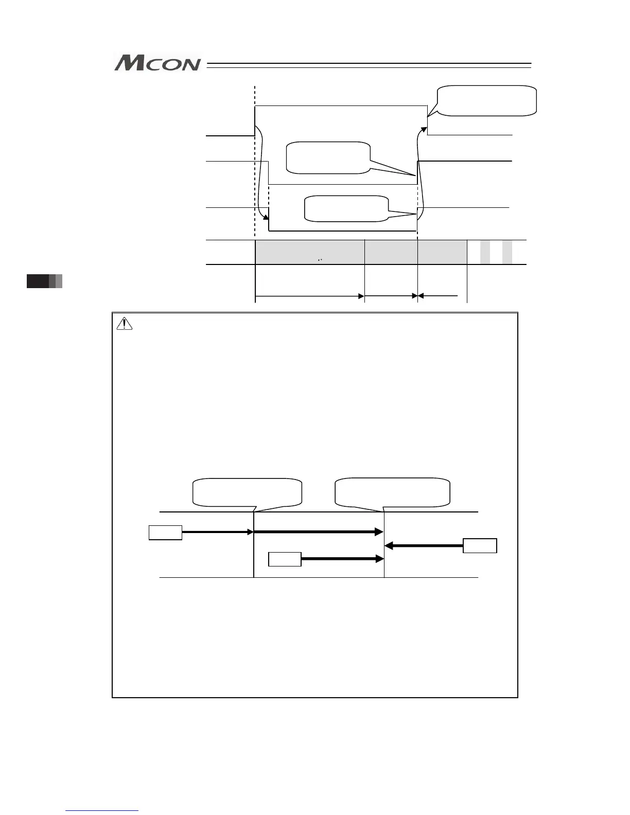
Positioning Completion Signal
PEND
(MCONPLC)
Turned OFF by
turning PEND ON
Turned ON even
in miss-pressing
Start Signal ST*
(PLCMCON)
Current Position No.
PE*
(MCONPLC)
Not turned ON for
miss-pressing
Pressing
operation
Pressing
completion
Operation of actuator Approach
ti
Positioning be setting
of coordinate value
Movement by
positioning
width
Stop of
pressing
Pressing start position
100mm
Pressing end position
100 + 50 = 150mm
ST*
Pressing operation
ST*
Approach operation
ST*:Start position
ST*
Pressing operation
Tensile operation
3.8 Control and functions of Input and output signals of Remote I/O Mode

Table of Contents

Other manuals for IAI MCON-C

Related product manuals