EasyManua.ls Logo

Maxsine EP3 E Series - Page 92

Default Icon
162 pages
Print Icon
To Next Page IconTo Next Page
To Next Page IconTo Next Page
To Previous Page IconTo Previous Page
To Previous Page IconTo Previous Page
Loading...
Chapter 5 Parameters
84
The comparator has a return function, set by parameter P210.
P208 Gain switching condition Unit
3 Command pulse frequency 0.1kHz(kpps)
4 Pulse deviation pulse
5 Servomotor speed r/min
P210 Gain switching level
Range
Default
value
Unit Usage
032767 5 ALL
Refer to the description of parameter P209.
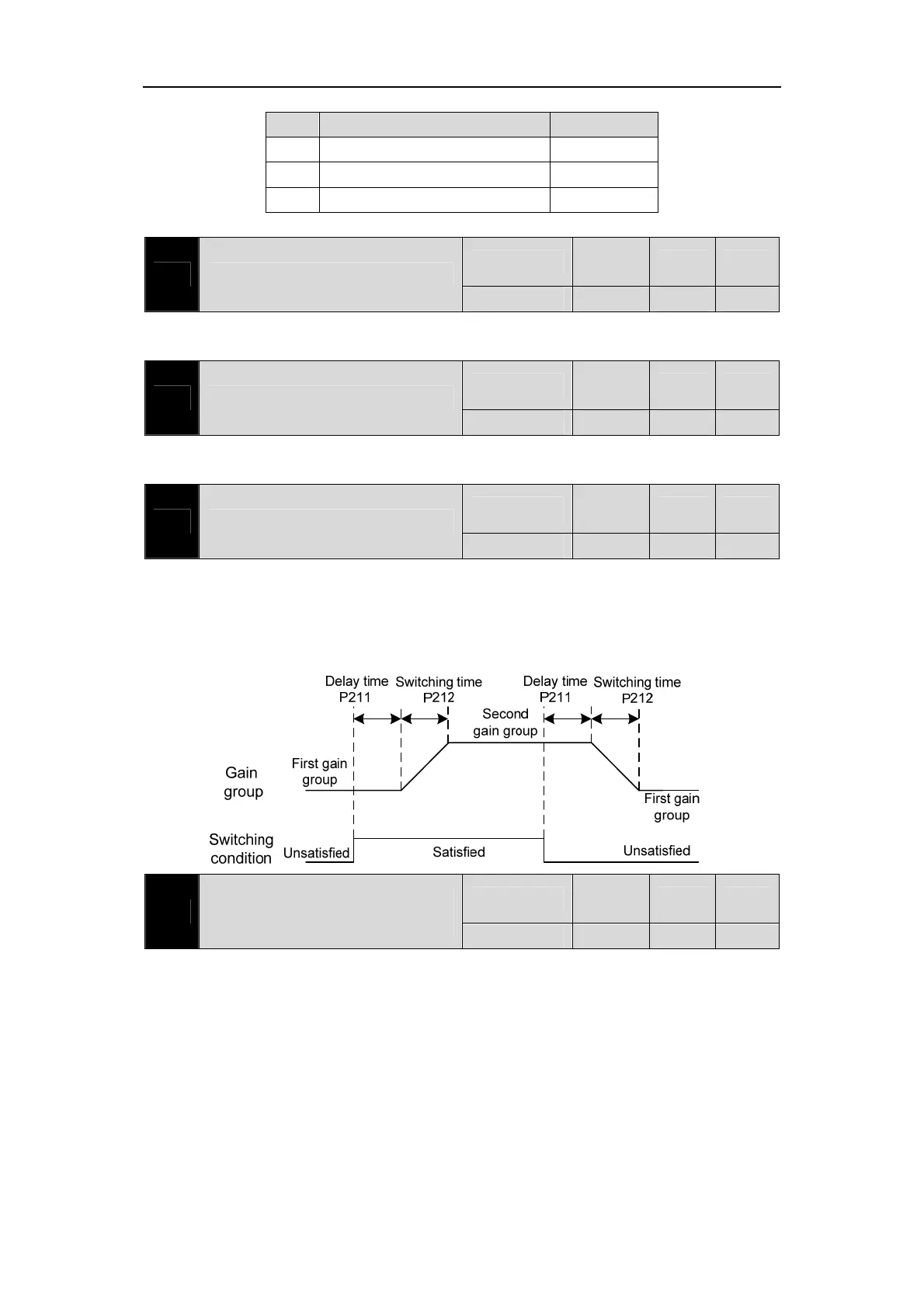
P211 Gain switching delay time
Range
Default
value
Unit Usage
03000 5 ms ALL
The gain switching condition satisfies the delay time from the start of switching.
If the handover condition is not met in the delay phase, the handover is canceled.
P212 Gain switching time
Range
Default
value
Unit Usage
03000 5 ms ALL
During gain switching, the current gain combination changes linearly to the target gain
combination smoothly within this time, and all parameters in the combination change at
the same time.
It can avoid shock caused by sudden change of parameters.
P222
Compensation coefficient of
vibration suppression
Range
Default
value
Unit Usage
1.0100.0 1.0 P
The vibration suppression switch is effective when turned on.
The larger the value, the more obvious the inhibition effect, but too large the value is easy
to bring mechanical noise.

Table of Contents