EasyManua.ls Logo

Maytag MDE17CS - Wiring Diagrams; CS Model - Electric

Maytag MDE17CS
150 pages
Print Icon
To Next Page IconTo Next Page
To Next Page IconTo Next Page
To Previous Page IconTo Previous Page
To Previous Page IconTo Previous Page
Loading...
7-1
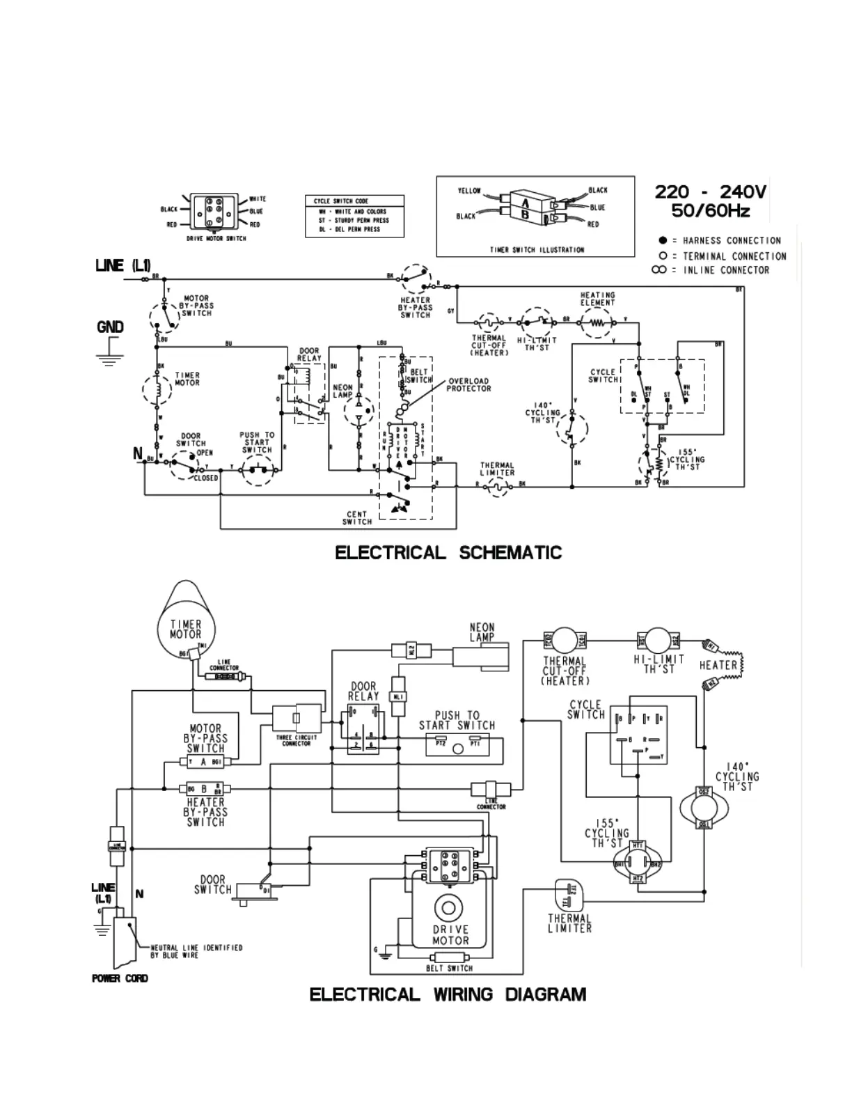
WIRING DIAGRAMS
CS model - electric

Table of Contents

Other manuals for Maytag MDE17CS

Related product manuals