EasyManua.ls Logo

Nikon DTM-330 - 4-4) Search Record

Nikon DTM-330
191 pages
Print Icon
To Next Page IconTo Next Page
To Next Page IconTo Next Page
To Previous Page IconTo Previous Page
To Previous Page IconTo Previous Page
Loading...
3-104
3
MENU/4: Data
4-4) Search Record
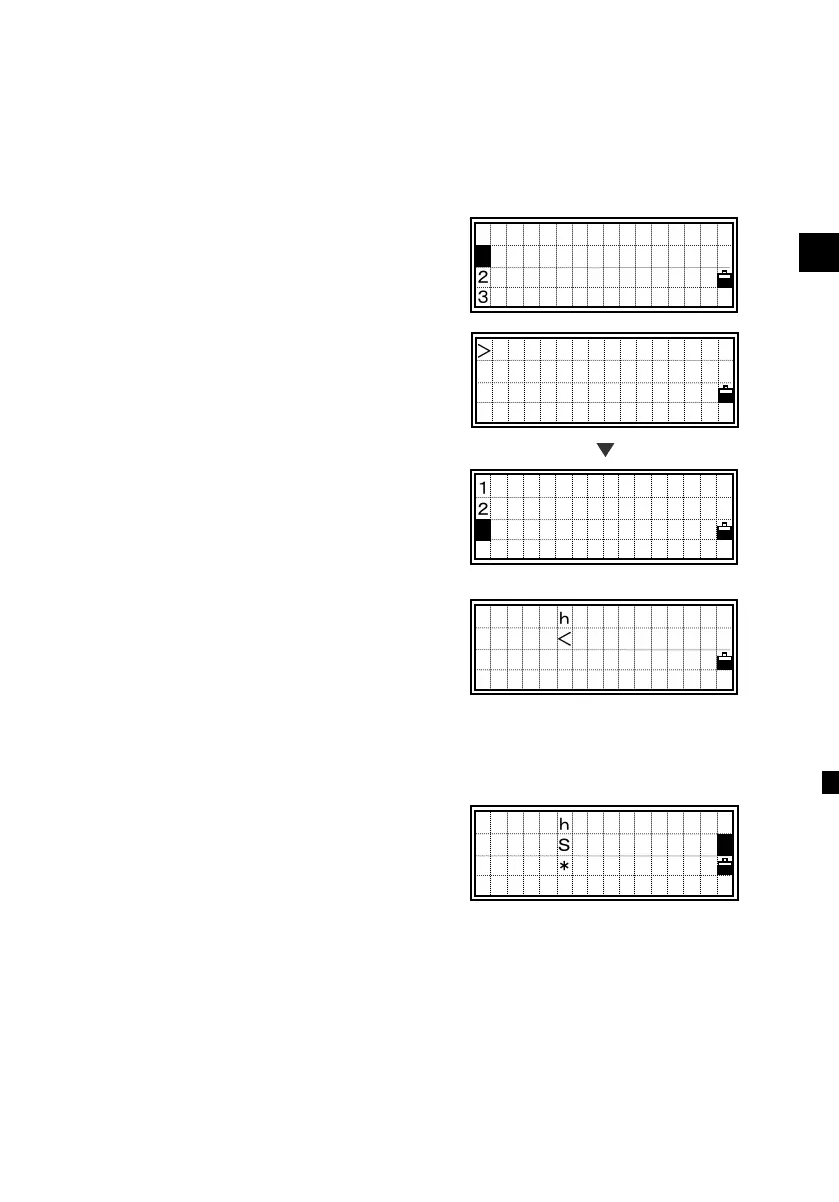
You can search for records by their type, point number/name, code, or by any
combination of these.
4-4-1) Search from RAW record
Select [1:RAW data] to show the list of
RAW data before entering “Search”
function.
Press the [MENU] key to display the
sub-function menu for RAW data.
Press the [3] or the Down arrow and
[ENT] keys to select “Search”.
You can set the record “Type” using the
Right/Left arrow keys. It scrolls among
ALL/ST/SS/SO/F1/F2/CP/CO/SY.
When you know the PT of the point, you
can ignore “Type”. Just leave it as ALL
and press the [ENT] key to input “PT”.
Type the PT and/or CD. The asterisc ()
can be used as a wildcard.
For example, when you input “30*” in the
PT field, Pt:300, 301, 302, 3000A2,
3010…etc. can be found.
ST,10
5000
2001FENCE
2002FENCE
Searc RAW
Type:
PT:30
CD:■
A
Searc RAW
Type:ALL>
PT:
CD:
[MENU]
View/Edi
:RAW data
:XYZ data
:Code List
1
DE
it
Search

Table of Contents

Related product manuals