EasyManua.ls Logo

Omron CPM2C - Page 125

Omron CPM2C
325 pages
Print Icon
To Next Page IconTo Next Page
To Next Page IconTo Next Page
To Previous Page IconTo Previous Page
To Previous Page IconTo Previous Page
Loading...
102
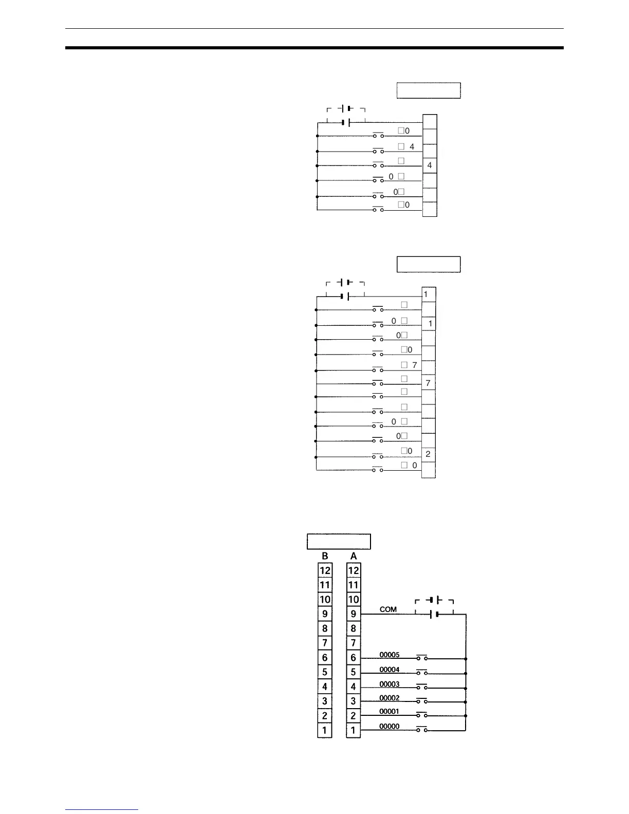
Wiring and Connections Section 3-4
Expansion I/O Unit with 10 I/O Points: CPM2C-10EDR
Expansion I/O Unit with 20 I/O Points: CPM2C-20EDR
Units with Transistor Outputs via Fujitsu-compatible Connector
CPU Units with 10 I/O Points: CPM2C-10C@DT@C-D
In
p
ut devices
24 VDC
Inputs: IR word m
COM
00
(
05
00
(
04
00
(
03
00
(
02
00
(
01
00
(
00
7
6
5
4
3
2
1
In
p
ut devices
24 VDC
Inputs: IR word m
COM
00
(
05
00
(
04
00
(
03
00
(
02
00
(
01
00
(
00
00
(
11
00
(
10
00
(
09
00
(
08
00
(
07
00
(
06
13
12
11
10
9
8
7
6
5
4
3
2
1
In
p
ut devices
24 VDC
Inputs: IR 000

Table of Contents

Related product manuals