EasyManua.ls Logo

Omron CPM2C - Page 126

Omron CPM2C
325 pages
Print Icon
To Next Page IconTo Next Page
To Next Page IconTo Next Page
To Previous Page IconTo Previous Page
To Previous Page IconTo Previous Page
Loading...
103
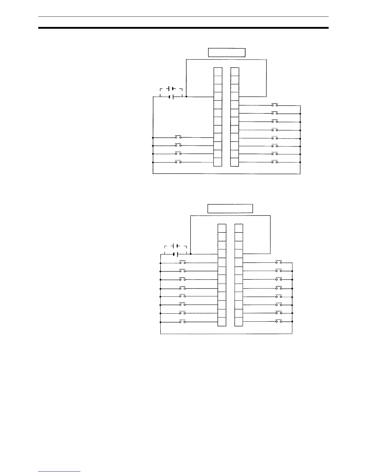
Wiring and Connections Section 3-4
CPU Units with 20 I/O Points: CPM2C-20C@DT@C-D
Note COM terminals (A9 and B9) are connected internally.
CPU Units with 32 I/O Points: CPM2C-32CDT@C-D
Note COM terminals (A9 and B9) are connected internally.
Input devices
Input devices
24 VDC
COM COM
00011
00010
00009
00008
00007
00006
00005
00004
00003
00002
00001
00000
BA
12
11
10
9
8
7
6
5
4
3
2
1
12
11
10
9
8
7
6
5
4
3
2
1
Inputs: IR 000
Input devices
Input devices
24 VDC
Inputs: IR 000/IR001
B
A
12
11
10
9
8
7
6
5
4
3
2
1
12
11
10
9
8
7
6
5
4
3
2
1
COM
00007
00006
00005
00004
00003
00002
00001
00000
COM
00107
00106
00105
00104
00103
00102
00101
00100

Table of Contents

Related product manuals