EasyManua.ls Logo

Omron CPM2C - Page 127

Omron CPM2C
325 pages
Print Icon
To Next Page IconTo Next Page
To Next Page IconTo Next Page
To Previous Page IconTo Previous Page
To Previous Page IconTo Previous Page
Loading...
104
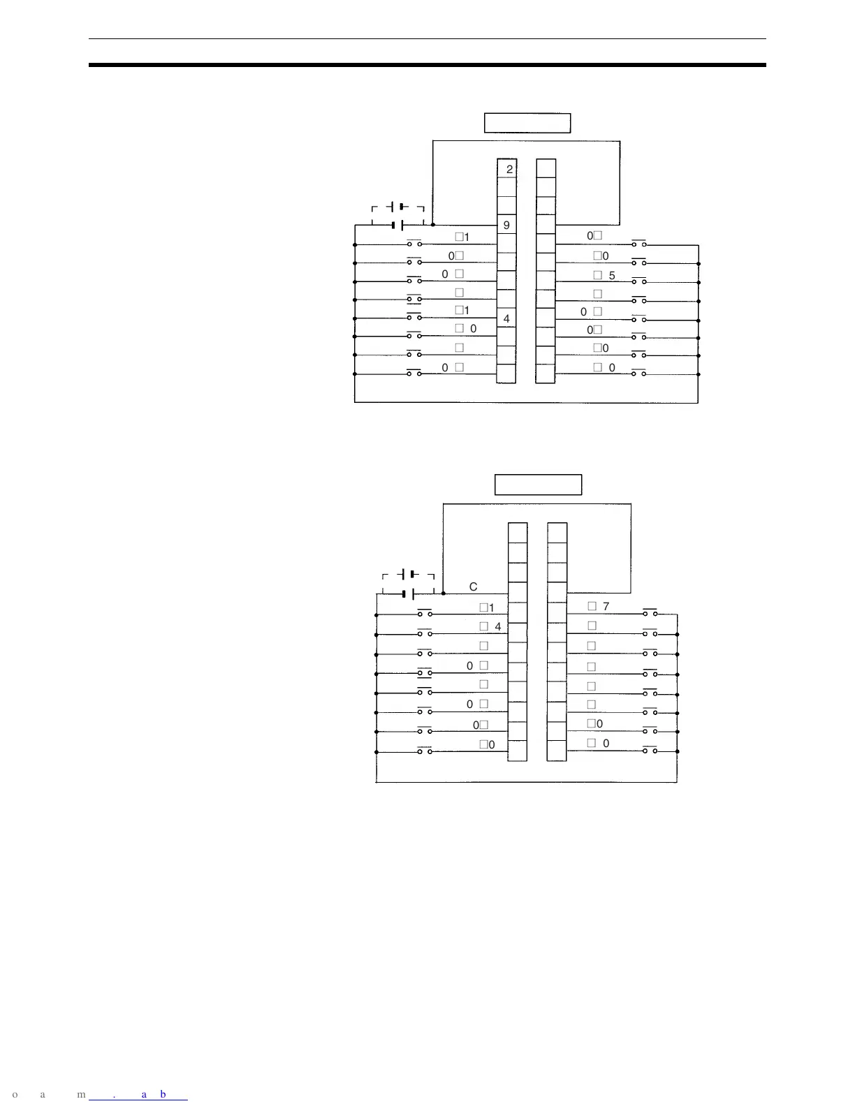
Wiring and Connections Section 3-4
Expansion I/O Units with 24 I/O Points: CPM2C-24EDT@C
Note COM terminals (A9 and B9) are connected internally.
Expansion I/O Units with 32 I/O Points: CPM2C-32EDT@C
Note COM terminals (A9 and B9) are connected internally.
Inputs: IR word m
Input devices Input devices
24 VDC
COM
COM
00
(
11
00
(
10
00
(
09
00
(
08
00
(
07
00
(
06
00
(
05
00
(
04
00
(
03
00
(
02
00
(
01
00
(
00
00
(
12
00
(
13
00
(
14
00
(
15
B
A
12
11
10
9
8
7
6
5
4
3
2
1
12
11
10
9
8
7
6
5
4
3
2
1
Inputs: IR word m
Input devices
Input devices
24 VDC
BA
12
11
10
9
8
7
6
5
4
3
2
1
12
11
10
9
8
7
6
5
4
3
2
1
COM
00
(
05
00
(
04
00
(
03
00
(
02
00
(
01
00
(
00
00
(
11
00
(
10
00
(
09
00
(
08
00
(
07
00
(
06
COM
00
(
15
00
(
14
00
(
03
00
(
01

Table of Contents

Related product manuals