EasyManua.ls Logo

Omron CPM2C - Page 128

Omron CPM2C
325 pages
Print Icon
To Next Page IconTo Next Page
To Next Page IconTo Next Page
To Previous Page IconTo Previous Page
To Previous Page IconTo Previous Page
Loading...
105
Wiring and Connections Section 3-4
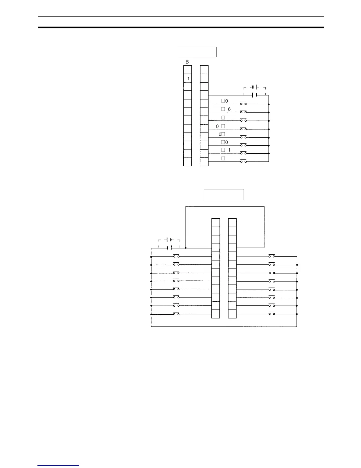
Expansion I/O Unit with 8 Input Points: CPM2C-8EDC
Expansion I/O Unit with 16 Input Points: CPM2C-16EDC
Note COM terminals (A9 and B9) are connected internally.
In
p
ut devices
24 VDC
COM
00
(
07
00
(
06
00
(
05
00
(
04
00
(
03
00
(
02
00
(
01
00
(
00
BA
12
11
10
9
8
7
6
5
4
3
2
1
12
11
10
9
8
7
6
5
4
3
2
1
Inputs: IR word m
Input devices
Input devices
24 VDC
COM
00 15
00 14
00 13
00 12
00 11
00 10
00 09
00 08
COM
00 07
00 06
00 05
00 04
00 03
00 02
00 01
00 00
BA
12
11
10
9
8
7
6
5
4
3
2
1
12
11
10
9
8
7
6
5
4
3
2
1
Inputs: IR word m

Table of Contents

Related product manuals