EasyManua.ls Logo

Omron CPM2C - Page 156

Omron CPM2C
325 pages
Print Icon
To Next Page IconTo Next Page
To Next Page IconTo Next Page
To Previous Page IconTo Previous Page
To Previous Page IconTo Previous Page
Loading...
133
Wiring and Connections Section 3-4
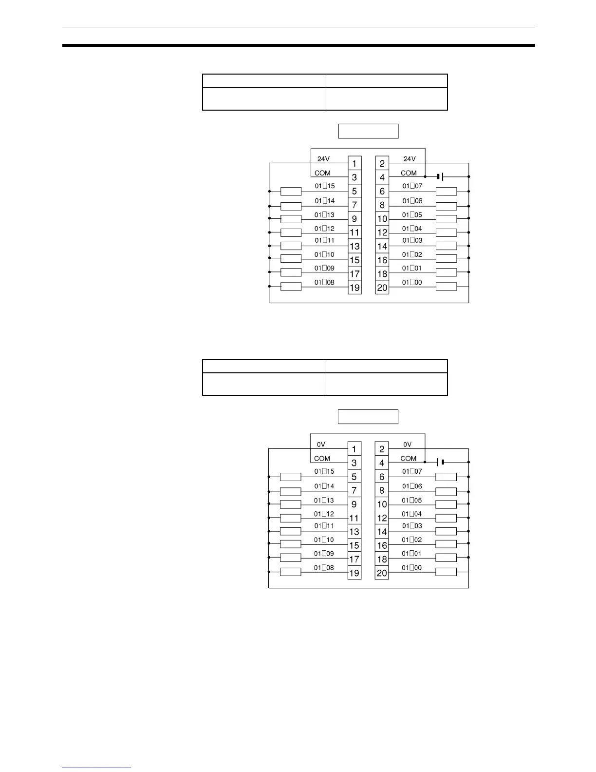
Expansion I/O Unit with 16 Sinking Outputs: CPM2C-16ETM
Note Wire COM terminals (3 and 4) and 24-V terminals (1 and 2) even though they
are connected internally.
Expansion I/O Unit with 16 Sourcing Outputs: CPM2C-16ET1M
Note Wire COM terminals (3 and 4) and 0-V terminals (1 and 2) even though they
are connected internally.
Output capacity Max. common capacity
00 to 07: 300 mA (24 VDC)
08 to 15: 100 mA (24 VDC)
3.2 A/common
24 VDC
Outputs: IR word n
Load
Load
Load
Load
Load
Load
Load
Load
Load
Load
Load
Load
Load
Load
Load
Load
Output capacity Max. common capacity
00 to 07: 300 mA (24 VDC)
08 to 15: 100 mA (24 VDC)
3.2 A/common
24 VDC
Outputs: IR word n
Load
Load
Load
Load
Load
Load
Load
Load
Load
Load
Load
Load
Load
Load
Load
Load

Table of Contents

Related product manuals