EasyManua.ls Logo

Omron CPM2C - Page 155

Omron CPM2C
325 pages
Print Icon
To Next Page IconTo Next Page
To Next Page IconTo Next Page
To Previous Page IconTo Previous Page
To Previous Page IconTo Previous Page
Loading...
132
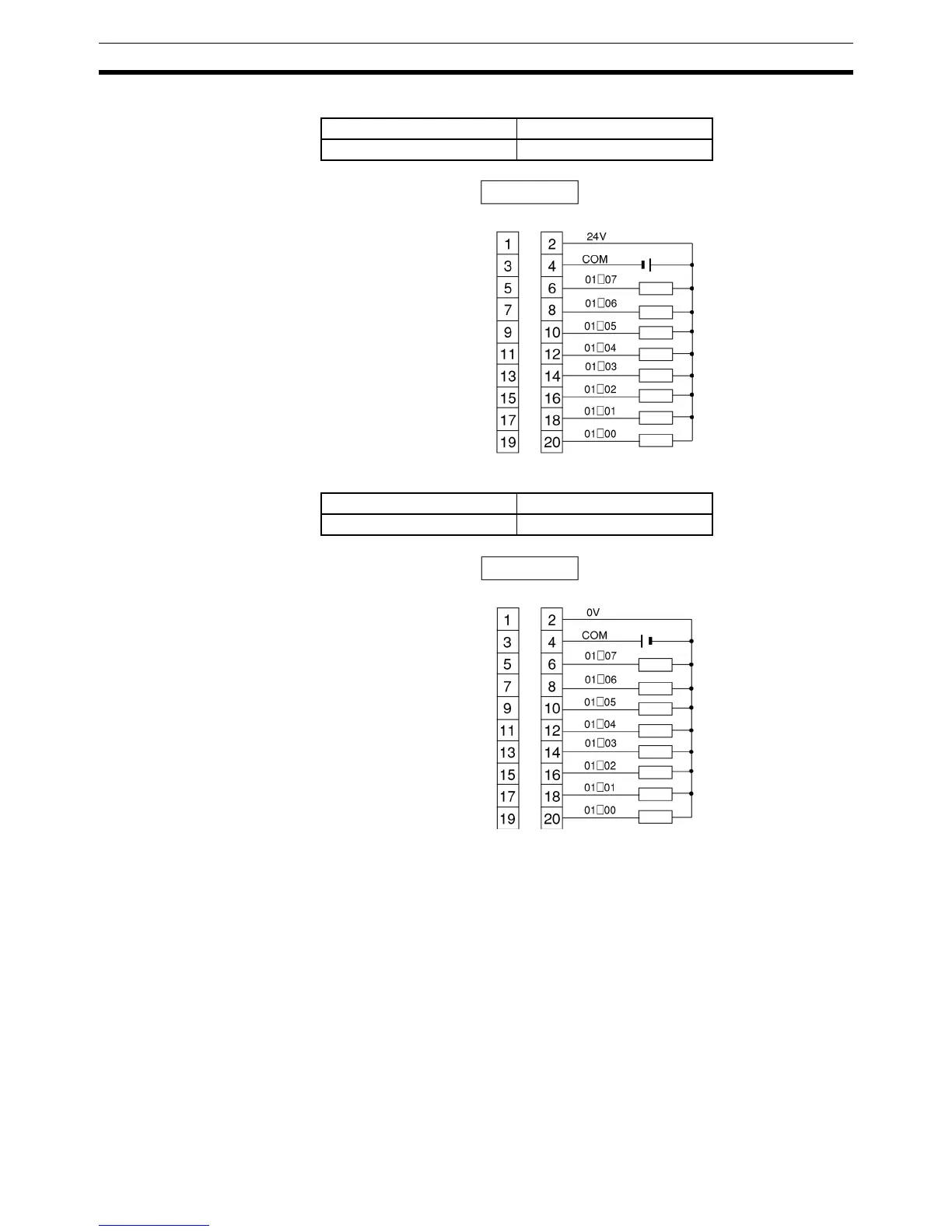
Wiring and Connections Section 3-4
Expansion I/O Unit with 8 Sinking Outputs: CPM2C-8ETM
Expansion I/O Unit with 8 Sourcing Outputs: CPM2C-8ET1M
Output capacity Max. common capacity
300 mA (24 VDC) 2.4 A/common
Output capacity Max. common capacity
300 mA (24 VDC) 2.4 A/common
24 VDC
Outputs: IR word n
Load
Load
Load
Load
Load
Load
Load
Load
24 VDC
Outputs: IR word n
Load
Load
Load
Load
Load
Load
Load
Load

Table of Contents

Related product manuals