EasyManua.ls Logo

Omron CPM2C - Page 68

Omron CPM2C
325 pages
Print Icon
To Next Page IconTo Next Page
To Next Page IconTo Next Page
To Previous Page IconTo Previous Page
To Previous Page IconTo Previous Page
Loading...
45
Specifications Section 2-1
Item Specification
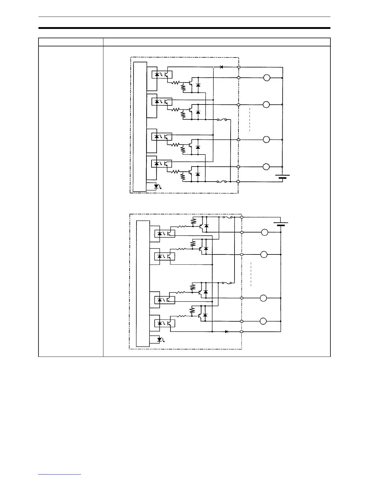
Circuit configuration
Sinking Outputs
COM ()
Sourcing Outputs
Output LED
OUT 00
OUT 01
24 VDC
OUT 06
OUT 07
0 VDC
Output LED
OUT 00
OUT 01
COM (+)
OUT 06
OUT 07
1 A
1 A
1 A
Internal circuits
Internal circuits
1 A
Load
Load
Load
Load
Load
Load
Load
Load

Table of Contents

Related product manuals