EasyManua.ls Logo

opto engineering ITALA - Page 116

opto engineering ITALA
134 pages
Print Icon
To Next Page IconTo Next Page
To Next Page IconTo Next Page
To Previous Page IconTo Previous Page
To Previous Page IconTo Previous Page
Loading...
Itala | INSTRUCTION MANUAL
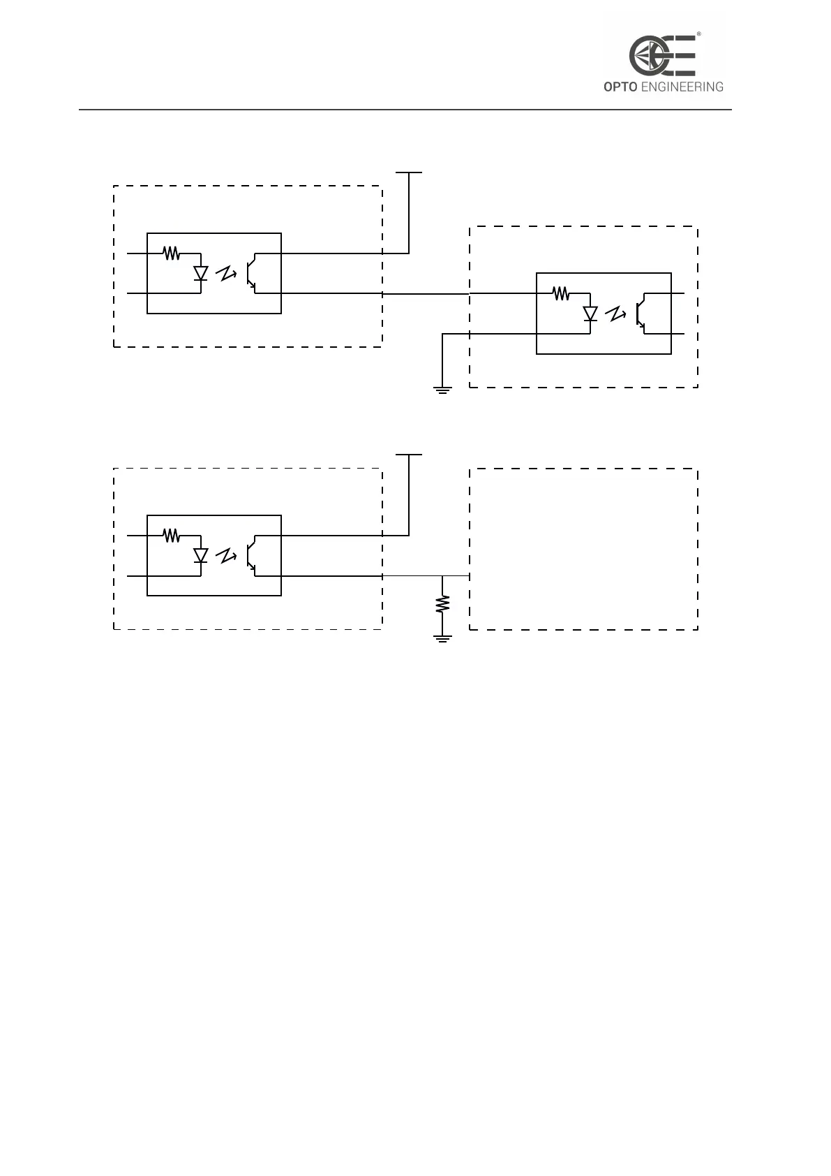
CAMERA
(OPTO-ISOLATED OUTPUT)
pin 10
opto_ref_v+
pin 6
opto_out 0
+V
CC
EXTERNAL DEVICE
(OPTO-ISOLATED INPUT)
CAMERA
(OPTO-ISOLATED OUTPUT)
pin 10
opto_ref_v+
pin 6
opto_out 0
+V
CC
EXTERNAL DEVICE
(LOGICAL INPUT)
logic_in
Figure 76: Figure above: camera triggers an opto-isolated external device. Figure below:
camera triggers a logic input pin.
v1.12 - eng 115

Table of Contents