EasyManua.ls Logo

Renesas RL78/F13

Renesas RL78/F13
1879 pages
To Next Page IconTo Next Page
To Next Page IconTo Next Page
To Previous Page IconTo Previous Page
To Previous Page IconTo Previous Page
Loading...
RL78/F13, F14 CHAPTER 15 SERIAL ARRAY UNIT
R01UH0368EJ0210 Rev.2.10 887
Dec 10, 2015
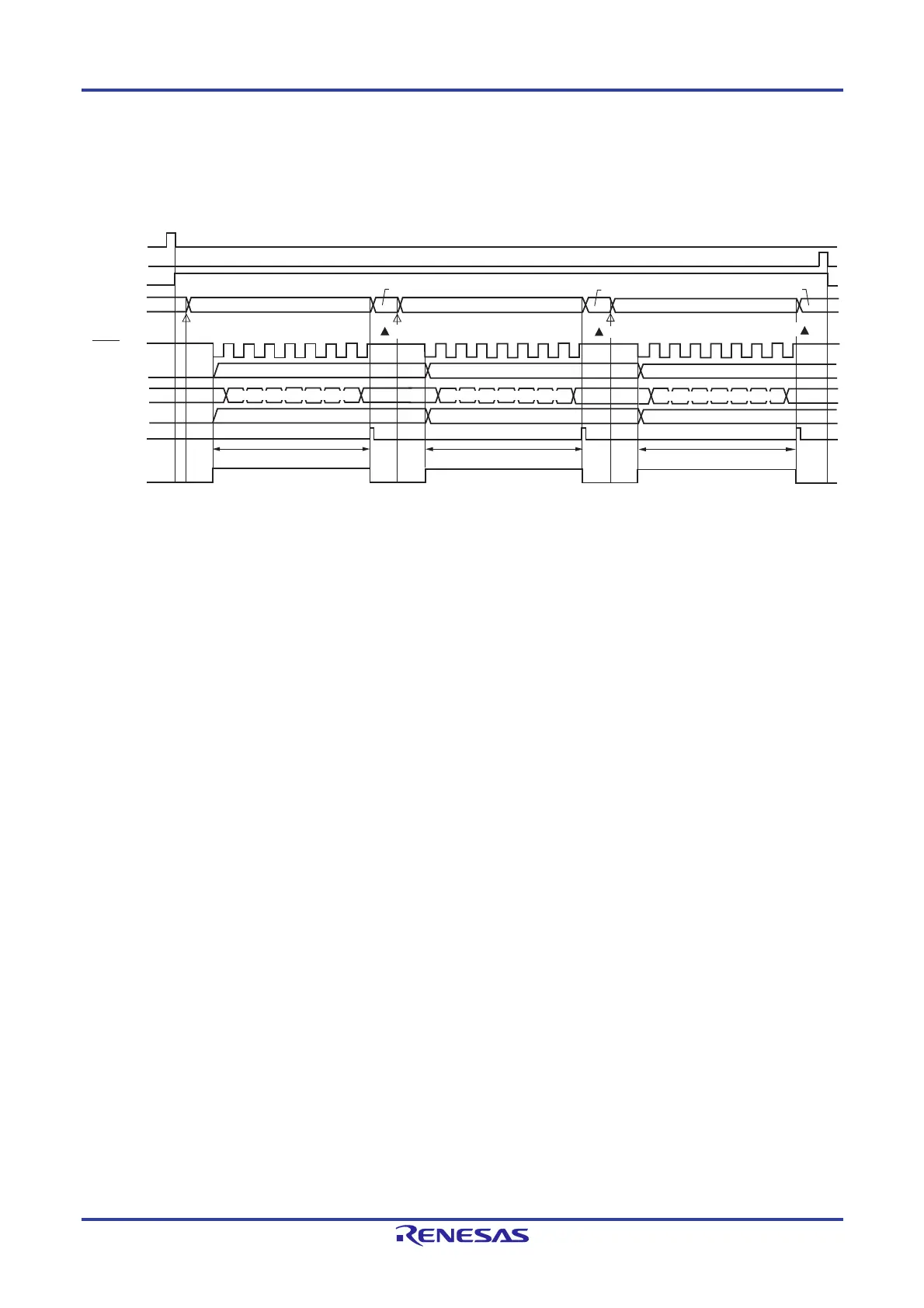
(3) Processing flow (in single-transmission/reception mode)
Figure 15-67. Timing Chart of Slave Transmission/Reception (in Single-Transmission/Reception Mode)
(Type 1: DAPmn = 0, CKPmn = 0)
Remark m: Unit number (m = 0, 1), n: Channel number (n = 0, 1), p: CSI number (p = 00, 01, 10, 11),
mn = 00, 01, 10, 11
SSmn
SEmn
SDRmn
SCKp pin
SIp pin
Shift
register mn
INTCSIp
TSFmn
SOp pin
STmn
Data transmission/reception (8-bit length)
Receive data 3
Receive data 2
Receive data 1
Transmit data 1
Transmit data 2 Transmit data 3
Receive data 2
Receive data 3
Write
Read
Write
Read
Read
Write
Transmit data 3
Transmit data 2
Transmit data 1
Reception & shift operation
Reception & shift operation
Reception & shift operation
Receive data 1
Data transmission/reception (8-bit length)
Data transmission/reception (8-bit length)

Table of Contents

Related product manuals