EasyManua.ls Logo

Ricoh CH-C1 - RTB 87: Envelope feed problems

Ricoh CH-C1
682 pages
Print Icon
To Next Page IconTo Next Page
To Next Page IconTo Next Page
To Previous Page IconTo Previous Page
To Previous Page IconTo Previous Page
Loading...
Technical Bulletin PAGE: 1/1
Model: Model CH-C1 (Office/Pro)
Date: 11-Mar-14
No.: RD135087
Subject: Troubleshooting for Feed Direction Limitations
Applied on Certain Types of Envelopes
Prepared by: Ryuuta Chino
From: 1st Tech Service Sect. PP Tech Service Dept.
Classification:
Troubleshooting
Mechanical
Paper path
Product Safety
Action required
Service manual revision
Retrofit information
Tier 2
Symptom
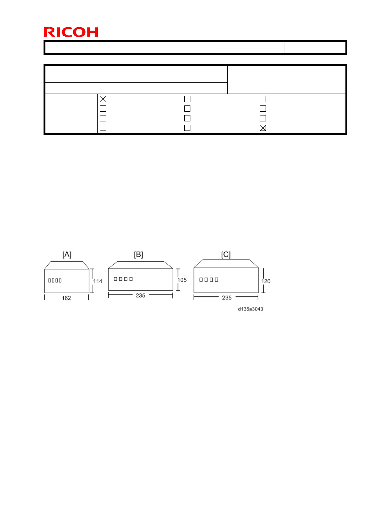
The following may occur when printing onto the envelopes shown below:
- Wrinkles
- Paper transport issues
- Flaps stick (closed) to the body of the envelope
Note: If the envelopes are fed in the SEF direction, they tend to warp in between the
PTR unit and fusing unit.
C6, 105x235, DLX
Major brands:
[A]: C6, [B]: 105x235, [C]: DLX
Cause
The heat of the fusing process may cause wrinkles to form or the adhesive on the flaps to
melt if the flaps are folded.
Solution
When feeding the types of envelopes described above, feed them from the bypass tray, in
the LEF direction (from the trailing edge), with the flaps open.

Table of Contents

Related product manuals