EasyManua.ls Logo

TECHNIKA PRO SH-1060 - Video Mode

TECHNIKA PRO SH-1060
78 pages
Print Icon
To Next Page IconTo Next Page
To Next Page IconTo Next Page
To Previous Page IconTo Previous Page
To Previous Page IconTo Previous Page
Loading...
17
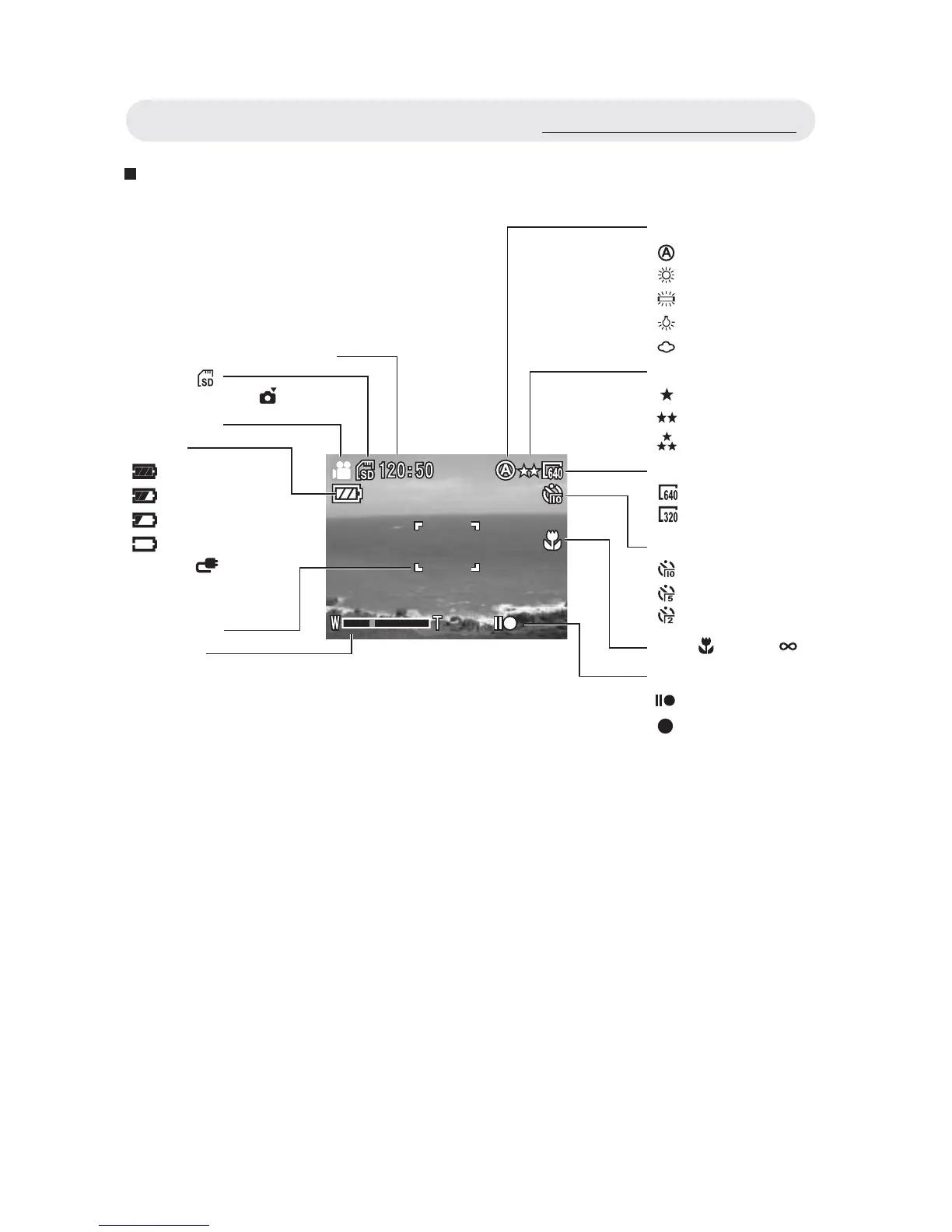
Video Mode
Remaining time of recording
White Balance
Auto
Daylight
Fluorescent
Tungsten
Cloudy
Quality
Normal
Fine
Best
Size
640x480
320x240
Self-timer
10sec.
5sec.
2sec.
Macro / Infinity
Recording indicator
Standby
On recording
SD Card
/ Internal memory
Battery
Full capacity
Half capacity
Low capacity
Exhausted
/ DC IN
Zoom bar
Focus frame
Video Mode
Using the LCD Monitor

Table of Contents