EasyManua.ls Logo

Yanmar B95W - Daily and Weekly Tasks

Yanmar B95W
310 pages
Print Icon
To Next Page IconTo Next Page
To Next Page IconTo Next Page
To Previous Page IconTo Previous Page
To Previous Page IconTo Previous Page
Loading...
B95W
Maintenance
126 / 306
6
06_Wartung und Pflege_en.fm - V1.0 - 1.8.17
20
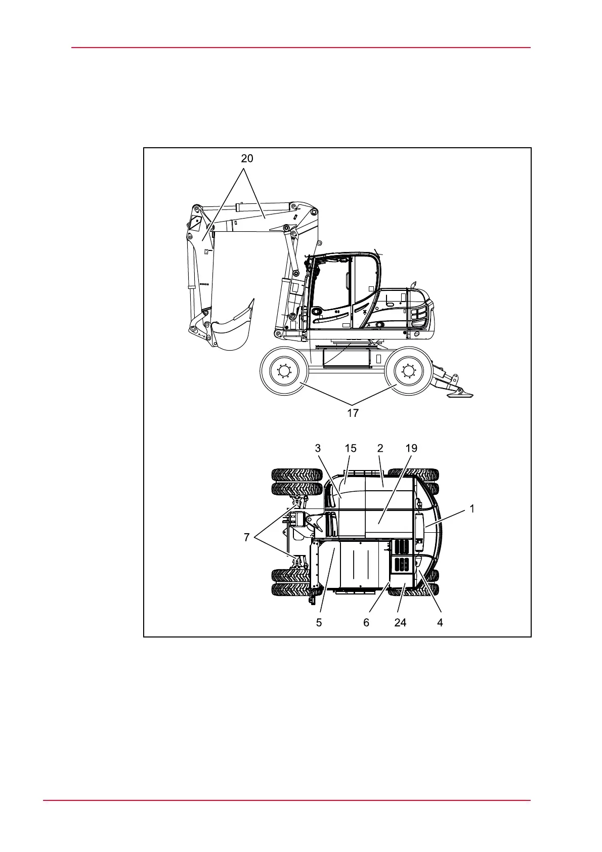
6.6.2 Daily and weekly tasks
Inspection and maintenance work to be performed by operating personnel
Fig. 6-4 Inspection and maintenance plan for daily and weekly tasks

Table of Contents

Related product manuals