EasyManua.ls Logo

Zeiss Axio Examiner - Figure 3-27 Adjusting Aid; Figure 3-28 Adjusting the HBO 100

Zeiss Axio Examiner
96 pages
Print Icon
To Next Page IconTo Next Page
To Next Page IconTo Next Page
To Previous Page IconTo Previous Page
To Previous Page IconTo Previous Page
Loading...
START-UP
Carl Zeiss Installing standard components Axio Examiner
44 M60-2-0003 e 05/2012
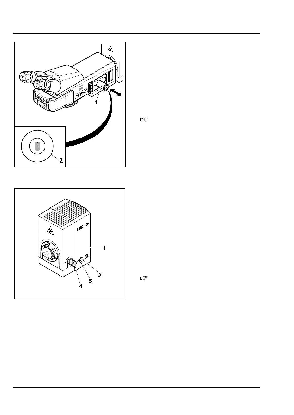
Adjusting the HBO 100 3.1.15.3
illuminator
The HBO 100 illuminator is available for delivery in
two variants (manual or automatic adjustment).
The self-adjusting HBO 100 (423011-0000-000)
will be adjusted automatically after the
illuminator's transformer is switched on.
The setting of HBO 100 illuminator by manual
adjustment (423010-0000-000) is described below.
If the FL attenuator is located in the reflected
light optical path, it should be set to 100 %
transmission for adjustment.
(1) Axio Examiner.A1 with adjusting aid:
Switch on the HBO 100 illuminator
(Figure 3-28/1) using the switch at the HBO 100
W transformer (Figure 3-31/1), and allow it to
run up to operating temperature.
Pull out the adjusting aid (Figure 3-27/1) at the
microscope stand. The brighter focal spot of the
HBO 103 W/2 lamp and its somewhat darker
mirror image will appear in the adjusting aid's
black glass window.
Turn the knurled knob (Figure 3-28/4) to focus
the brighter focal spot using the collector
adjustment.
Turn the adjusting screws (Figure 3-28/2 and 3)
to set the darker focal spot (burner mirror
image) by analogy to the focal spot image
(Figure 3-27/2) within the inscribed adjusting
circle.
The two focal spots of the HBO 103 W/2
lamp should be located close to one another
within the adjusting aid's adjusting circle.
Push the adjusting aid in again.
(2) Axio Examiner.D1/.Z1 and Axio Examiner.A1 without adjusting aid:
Unscrew the objective from the objective mount or objective nosepiece.
Switch on the HBO 100 illuminator (Figure 3-28/1) using the switch at the HBO 100 W transformer
(Figure 3-31/1), and allow it to run up to operating temperature.
Hold a wide sheet of paper approx. 11 mm under the objective mount or objective nosepiece holder
such that the electric arc of the burner (brighter) and its mirror image (somewhat darker) appear as a
sharp image.
Figure 3-27 Adjusting aid
Figure 3-28 Adjusting the HBO 100

Table of Contents

Related product manuals