EasyManua.ls Logo

ABB REL650 - Residual Current Criteria

ABB REL650
942 pages
Print Icon
To Next Page IconTo Next Page
To Next Page IconTo Next Page
To Previous Page IconTo Previous Page
To Previous Page IconTo Previous Page
Loading...
TRUE
Bool to
Integer
ZREL
L3L1
L2L3
L1L2
L3N
L2N
L1N
TRUE
TRUE
RELCNDZ1
bitwise
AND
relcndphs
enable
TRZ1
Zone1
Phase
selection
bitwise
AND
enable
Zone2
RELCNDZ2
RELCNDZ4
Zone5
ZMFPDISPPL2PHIZ
Phase
preference
L1N
L2N
L3N
enable
TRZRV
bitwise
AND
enable
bitwise
AND
enable
TRZ4
bitwise
AND
enable
TRZ5
bitwise
AND
Zone3
Zone4
ZoneRV
RELCNDZ3
RELCNDZ5
RELCNDZRV
IEC16000017-1-en.vsdx
IEC16000017 V1 EN-US
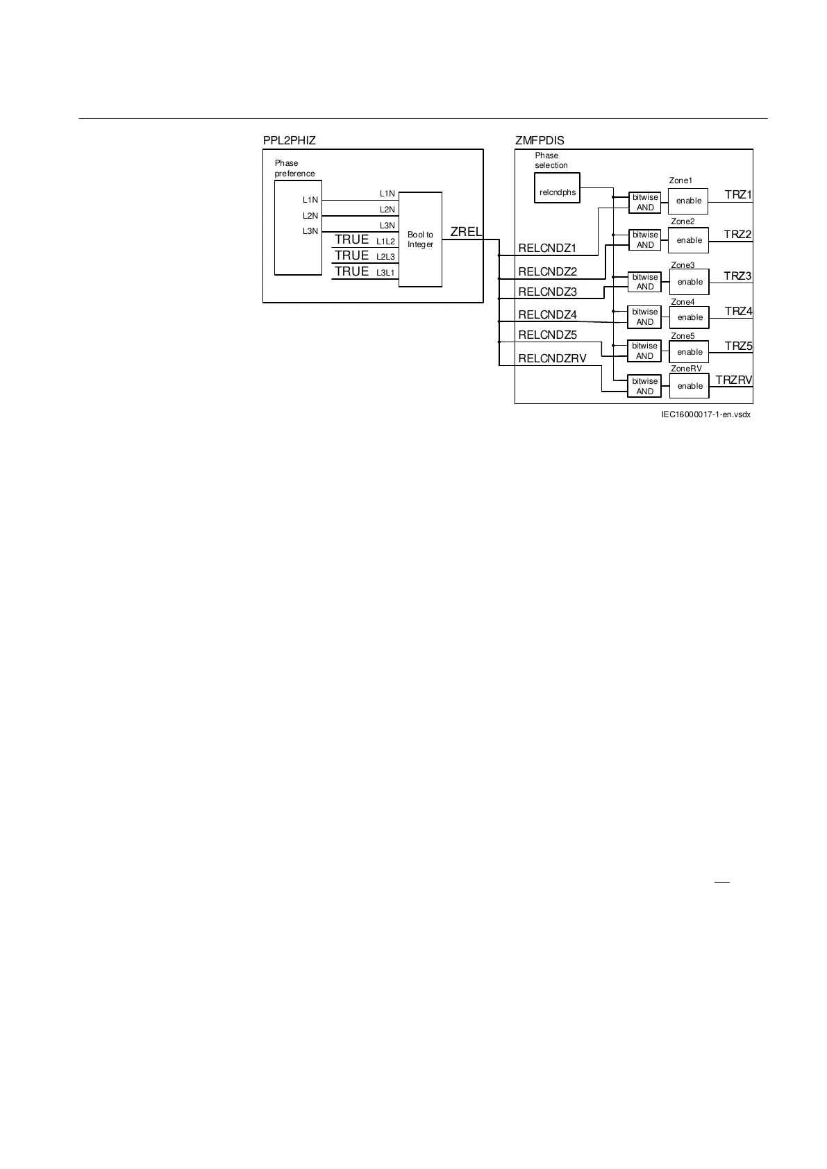
Figure 70: Phase preference logic overview
PPL2PHIZ can be divided into three main parts:
Residual current criteria
Phase selection
Preference logic
6.5.6.1 Residual current criteria
GUID-982F5BF4-CB45-4404-94F5-9A24B891056B v1
The fundamental start criterion for a cross-country fault is a continuous residual
current (3I0) above setting level IN>.
Transient residual currents associated with single phase fault inception are not
allowed to release the distance protection. This is taken care of by a time-on-delay
tIN, which should be set longer than the expected duration of the transient.
If a single phase fault remains for some time, it is possible to bypass the tIN time
delay, since the next fault event is expected to be a two-phase fault. The criterion
for this bypass is that the residual voltage is greater than setting level 3U0> for a
time longer than setting tUN. The time-off-delay tOffUN is used to make sure that
the bypass is steady during the cross-country fault.
The time delay for residual current start is also bypassed as soon as two low
voltages are detected during the cross-country fault (startUPP). See Figure
71.
1MRK 506 382-UEN A Section 6
Impedance protection
Line distance protection REL650 2.2 IEC 151
Technical manual

Table of Contents

Other manuals for ABB REL650

Related product manuals