EasyManua.ls Logo

ABB REL650 - Page 616

ABB REL650
942 pages
Print Icon
To Next Page IconTo Next Page
To Next Page IconTo Next Page
To Previous Page IconTo Previous Page
To Previous Page IconTo Previous Page
Loading...
Trip value rec Fault locator
Event list
Event recorder
Indications
Disturbance
recorder
Disturbance Report
Binary signals
Analog signals
DRPRDRE
FL
IEC09000336-3-en.vsdx
AxRADR
BxRBDR
IEC09000336 V3 EN-US
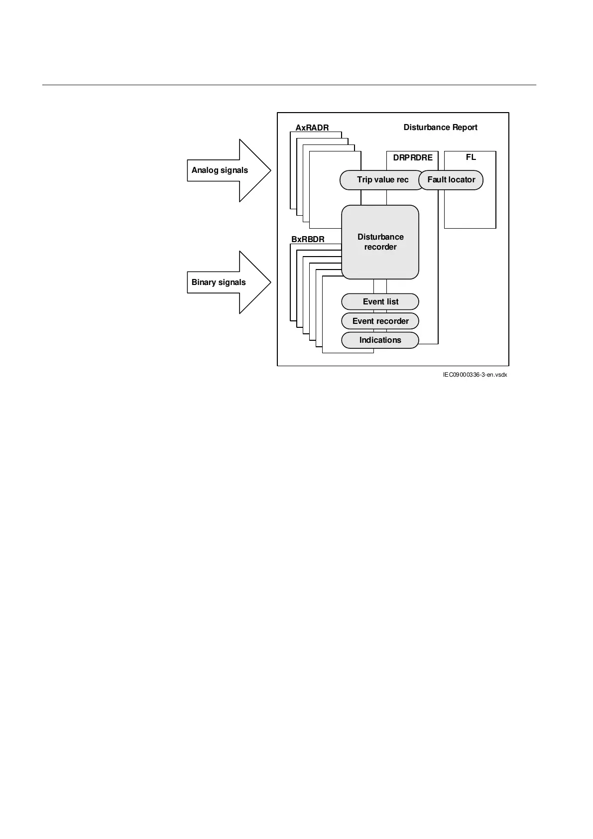
Figure 308: Disturbance report functions and related function blocks
The whole disturbance report can contain information for a number of recordings,
each with the data coming from all the parts mentioned above. The event list
function is working continuously, independent of disturbance triggering, recording
time, and so on. Settings information function contains all the visible settings,
parameter information of components configured in ACT, runtime status and
IEC61850 behavior that is added to the disturbance record header file. These
settings information is recorded in XML format and then grouped for each function
instance in the HDR file. The function, setting names and Enum values are same as
in the HMI and can be translated to the selected HMI language. All setting values
are updated along with the units. If the setting values are related to the global base
value, then the setting value is scaled and updated with corresponding global base
unit. All information in the disturbance report is stored in non-volatile flash
memories. This implies that no information is lost in case of loss of auxiliary
power. Each report will get an identification number in the interval from 0-999.
Section 14 1MRK 506 382-UEN A
Monitoring
610 Line distance protection REL650 2.2 IEC
Technical manual

Table of Contents

Other manuals for ABB REL650

Related product manuals