EasyManua.ls Logo

ACO 6236 - Page 42

ACO 6236
154 pages
Print Icon
To Next Page IconTo Next Page
To Next Page IconTo Next Page
To Previous Page IconTo Previous Page
To Previous Page IconTo Previous Page
Loading...
41
Interval Single at time of setting
Samp Time Meas.Time at time of setting
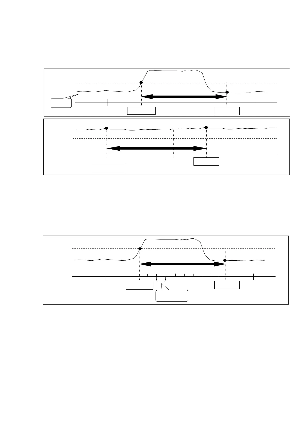
After progress of registered record start time (Sta), when instantaneous value is beyond a set
point, for once of “Meas.Time”.
The record end doesn't relate at setting level and record stop time (Stp) of the registered
instantaneous value.
Samp Time ( 100ms / 200ms / 1s ) at time of setting
After progress of registered record start time (Sta), if instantaneous value is beyond a setting
level, record it during one second by setting time of Samp Time ( 100ms / 200ms / 1s ).
When there is no memory card(SD card) : One data at the measurement time for the sampling
duration of the setting.
When there is a memory card (SD card) : The numbers of sampling time is recoded at during
of 1s.
Instantaneous
setting
value
Sta
Record start
Record end
MeasTime
Stp
Time
Sta
Record start
MeasTime
Record end
Stp
Time
Level
Sta
Record start
Record end
1s
Stp
Time
Samp Time
Instantaneous setting value
Instantaneous setting value

Table of Contents

Related product manuals