EasyManua.ls Logo

ACO 6236 - Page 90

ACO 6236
154 pages
Print Icon
To Next Page IconTo Next Page
To Next Page IconTo Next Page
To Previous Page IconTo Previous Page
To Previous Page IconTo Previous Page
Loading...
6
Setting of
Auto
mode
Mode Auto Automatic measurement, where the following items are available.
Interval Measuring interval setting
Single The measurement starts with
[Start/Stop]
key and is terminated at
Meas Time
selected.
Repeat The measurement starts with
[Start/Stop]
key and is repeated in
every
Meas Time
selected until
[Start/Stop]
key is pressed.
I/O External output setting
OFF Default (Data output is disabled).
ON Outputs data for one second when the data mory mode is active.
Level Threshold level is registered.
Samp TimeMese TimeFixation
Sta Registers the starting time for recording (YY/MM/DD HH/MM/SS)
(Year/Month/Date, date time/minute/second).
Stp Registers the stop time for recording (YY/MM/DD HH/MM/SS)
(Year/Month/Date, date time/minute/second)
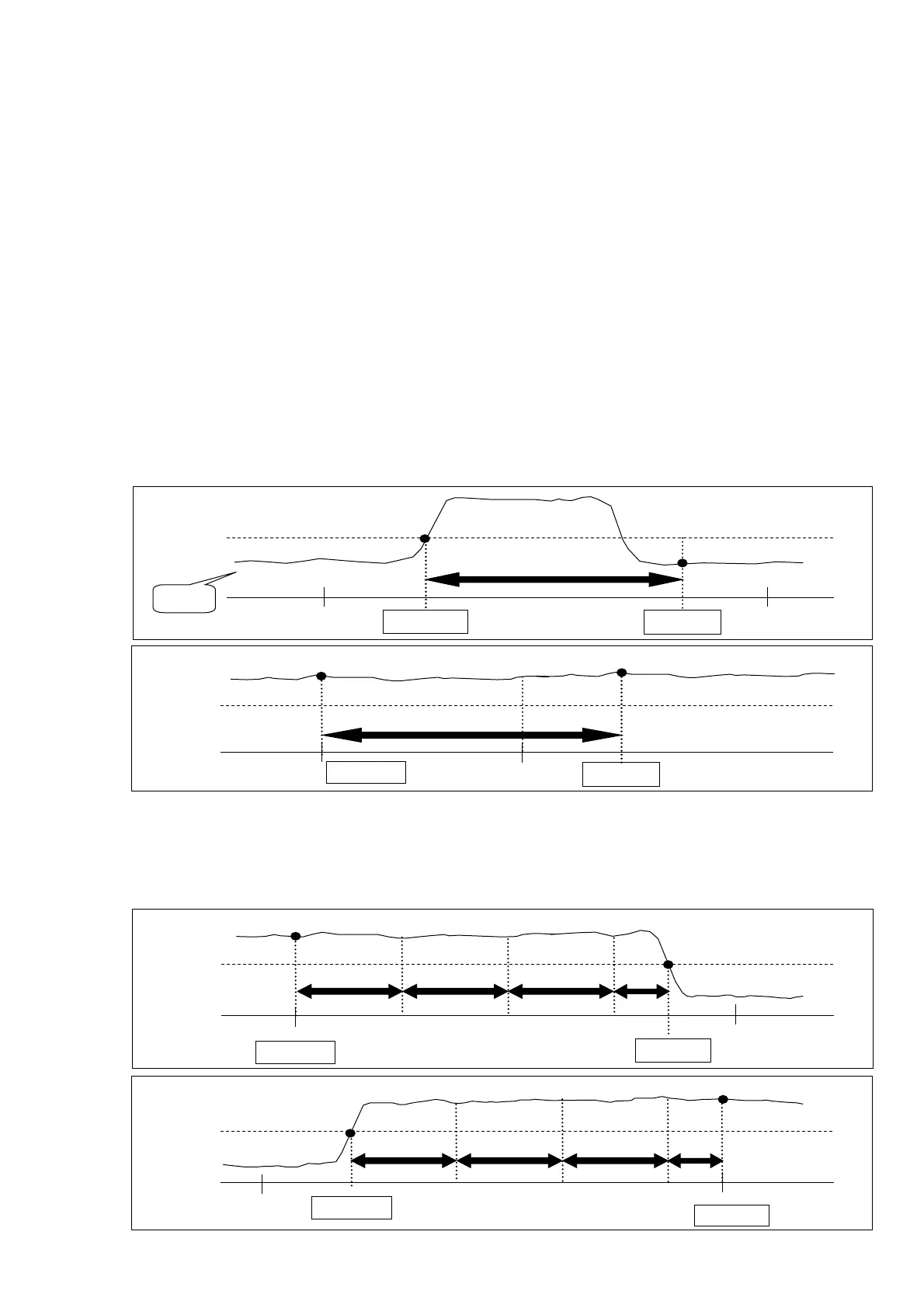
Interval Single At time of setting
After progress of registered record start time (Sta), if instantaneous value is beyond a set point,
I record for once of “Meas Time”.
The record end doesn't relate at setting level and record stop time (Stp) of the registered
instantaneous value.
Interval Repeat At time of setting
After progress of registered record start time (Sta), if instantaneous value is beyond a setting
level, record it during one second by setting time.
It records Meas.Time or Samp Time intervals repeatedly.
Level of instantaneous value is less than a setting level or records it until record stop time.
instantaneous
value
setting
Sta
Record start
Record end
Meas.Time
Stp
Time
Instantaneous
value
setting
Sta
Record start
Meas.Time
Record end
Stp
Time
Level
Instantaneous
value
setting
Sta
Meas.Time
2
3
4
Stp
Record start
Record end
Instantaneous
value
setting
Sta
Record start
Meas.Time or Samp Time
Stp
2
3
Record end
4

Table of Contents

Related product manuals