EasyManua.ls Logo

Amada WELD CHECKER MM-400A - (2) Configuration

Amada WELD CHECKER MM-400A
328 pages
Print Icon
To Next Page IconTo Next Page
To Next Page IconTo Next Page
To Previous Page IconTo Previous Page
To Previous Page IconTo Previous Page
Loading...
MM-400A
12. Data Communication
12-2
(2) Configuration
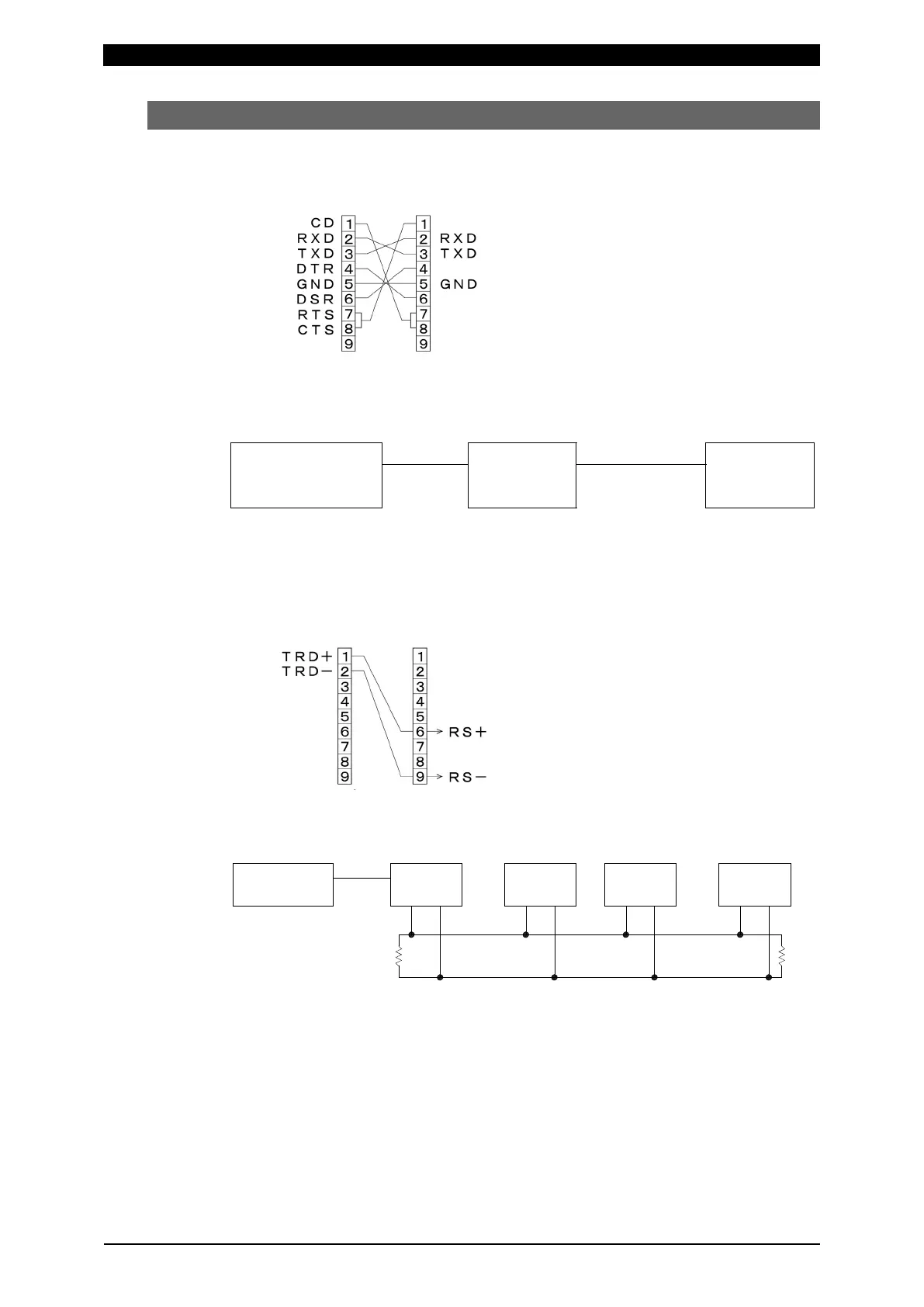
a. RS-232C
U
S
B
MM-400A
Host computer USB-RS232C
conversion
adapter
cable
communication
RS-232C
* Prepare the USB-RS232C conversion adapter at customer’s side.
* The RS-232C communication cable is optional.
b. RS-485
U
SB
MM-400A
MM-400A
TRD+ TRD- RS-RS+ RS-RS+
100Ω
MM-400A
RS-RS+
100Ω
Host computer
Device No.: 1 Device No.: 2 Device No.: n
USB-RS485
conversion
adapter
* Prepare the USB-RS232C conversion adapter and cable at customer’s side. The
above diagram is an example. The connector on the host computer side changes
according to the conversion adapter.
* Mount 100 Ω of termination resistance at either end of the RS-485 cable.
* The RS-485 connector (with termination resistance) is optional.
* Up to 31 devices can be connected.
* In the single-directional communication, only one device can be connected.
Host Computer
Pin No.
D-Sub 9-pin
Female
MM-400A
Pin No.
D-Sub 9-pin
Male
Host Computer
Pin No.
D-Sub 9-pin
Female
MM-400A
Pin No.
D-Sub 9-pin
Male

Table of Contents

Related product manuals