EasyManua.ls Logo

Brunswick StringPin - Page 90

Brunswick StringPin
126 pages
Print Icon
To Next Page IconTo Next Page
To Next Page IconTo Next Page
To Previous Page IconTo Previous Page
To Previous Page IconTo Previous Page
Loading...
4-4 Section4:Adjustments
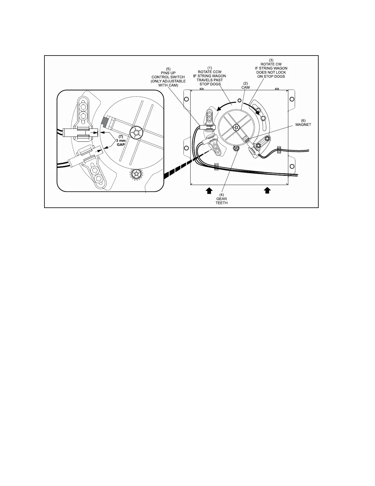
d. Push the Cam Control Box UP to rotate the cam as needed based on the operation
observed in step 2. Refer toFigure4-4.
Figure4-4.AdjustBracket
(1) PINS UP SWITCH (2) SLIDE BRACKET UP IF (3) SLIDE BRACKET DOWN IF STRING
STRING WAGON TRAVELS WAGON DOES NOT LOCK ON STOP
PAST STOP DOGS DOGS
e. After the cam is adjusted in the proper direction, lower the cam down to align with gear
teeth. Refer toFigure4-4.Tighten the four screws loosened in step 3c.
f. Toggle the Run/Stop switch from Stop to Run to cycle the pinsetter. Repeat switch
adjustment until string wagon locks interacts properly with the stop dogs.
g. Re-install the switch cluster cover removed in step 3b.

Table of Contents

Related product manuals