EasyManua.ls Logo

CASE CONSTRUCTION Alpha Series - Page 266

CASE CONSTRUCTION Alpha Series
300 pages
Print Icon
To Next Page IconTo Next Page
To Next Page IconTo Next Page
To Previous Page IconTo Previous Page
To Previous Page IconTo Previous Page
Loading...
9-SPECIFICATIONS
631093608
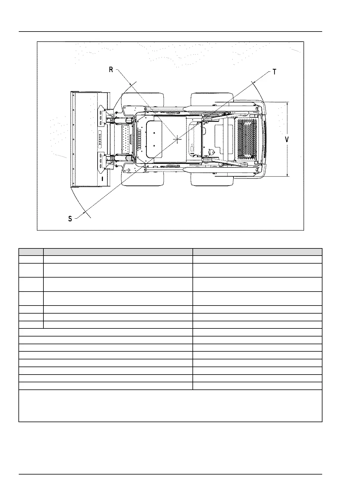
MEDIUMRADIALFRAMEWHEELUNITS(SR200)
ITEM
COMPONENTMEASUREMENT
R
Clearancecircleradiuswithouttool1311.0mm(51.6in)
SClearancecircleradiuswith1828.8mm(72.0in)DF
bucket
2034.0mm(80.1in)
SClearancecircleradiuswith1828.8mm(72.0in)LP
bucket
2127.0mm(83.7in)
SClearancecircleradiuswith1828.8mm(72.0in)LPE
bucket
2243.0mm(88.3in)
T
Clearancecircleradiusrear1599.0mm(63.0in)
V
Overthetirewidth1448.0mm(57.0in)
W
Overallwidth1755.0mm(69.1in)
Operatingweight3160kg(6967lb)
SAERatedOperatingCapacity(ROC)905kg(1995lb)
Tippingload
1814kg(3999lb)
Counterweight(optional)63.8kg(140.7lb)
Cabsideglass(optional)21.3kg(47.0lb)
Cabglassdoor(optional)34.0kg(75.0lb)
CabLexandoor(optional)34.0kg(75.0lb)
Suspensionseat(optional)10.0kg(22.0lb)
NOTE:Measurementsarebasedonmachineswith12x16.5tiresanda1829mm(72in)Dirt&Foundry(DF)
bucket.
NOTE:ClearanceCircleRadius(R,S,T)valueswerecalculatedusinga50/50weightdistribution(centerpointof
counterrotationcenteredbetweentheaxles)andwiththebucketrestingatonground.
9-10

Table of Contents

Related product manuals