EasyManua.ls Logo

Det-Tronics Eagle Quantum Premier - Page 141

Det-Tronics Eagle Quantum Premier
142 pages
Print Icon
To Next Page IconTo Next Page
To Next Page IconTo Next Page
To Previous Page IconTo Previous Page
To Previous Page IconTo Previous Page
Loading...
D-11
95-8533
18.2
TO EDIO
L
N
+
+
DC
OK
13 14
PS n
PHOENIX
QUINT-PS
L
N
+
+
DC
OK
13 14
PS 1
PHOENIX
QUINT-PS
L
N
+
+
DC
OK
13 14
PS
PHOENIX
QUINT-PS
L
N
+
+
DC
OK
13 14
PS
PHOENIX
QUINT-PS
A2555
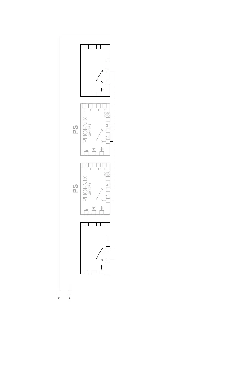
Note: Contacts are closed during normal operation. The circuit shall be wired to an input on the EQP system (EDIO).
In Logic, the selected input must be inverted and used to activate an alarm trigger gate, which initiates a
fault message on the Controller and activates the fault relay output.
No supervision is necessary, since the EDIO modules must be installed in the same cabinet with EQP21X0PS
and EQP2410PS.
Figure D-2—Power Supply and Converter Relays Wired in Series for Trouble Monitoring (up to 16 Power Supplies/Converters)

Table of Contents

Related product manuals