EasyManua.ls Logo

Det-Tronics Eagle Quantum Premier - Page 51

Det-Tronics Eagle Quantum Premier
142 pages
Print Icon
To Next Page IconTo Next Page
To Next Page IconTo Next Page
To Previous Page IconTo Previous Page
To Previous Page IconTo Previous Page
Loading...
3-28
95-8533
18.2
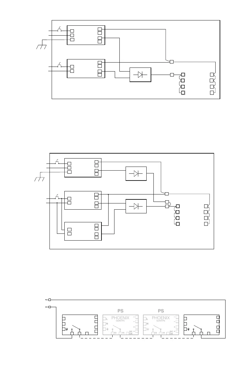
Figure 3-21B—Wiring Connections for a 10amp (Maximum) Power Supply with an AC Primary and DC Secondary Source
NRTL DISTRIBUTION CABINET
+
+
+
+
+
POWER DIST CKT #1
POWER DIST CKT #2
POWER DIST CKT #3
POWER DIST CKT #4
NOTES: 1. AC INPUT IS AUTO-SELECTABLE FOR 120–220 VAC, 60/50 Hz. BOTH AC AND DC INPUTS ARE CUSTOMER SUPPLIED.
2. PRIMARY SOURCE OF INPUT SUPPLY IS CONNECTED TO AC POWER SUPPLY AND SECONDARY SOURCE IS CONNECTED
TO DC CONVERTER.
3. A MAXIMUM OF 8 REDUNDANT PAIRS CAN BE CONNECTED TO INPUT AC/DC POWER.
4. THE SECONDARY SOURCE IS CONTINUOUSLY POWERED.
E2543
+
+
+
24 VDC
OUTPUT
EQP2410PS(–P) CONVERTER
SECONDARY POWER
See Notes 2 & 4
L
N
+
+
24 VDC
OUTPUT
EQP2120PS(-x) POWER SUPPLY
PRMARY POWER
See Notes 1 & 2
IN
OUT
REDUNDANCY
MODULE
1
2
CB
CB
G
NRTL DISTRIBUTION CABINET
+
+
+
+
+
+
POWER DIST CKT #1
POWER DIST CKT #2
POWER DIST CKT #3
POWER DIST CKT #4
NOTES: 1. AC INPUT IS AUTO-SELECTABLE FOR 120–220 VAC, 60/50 Hz. BOTH AC AND DC INPUTS ARE CUSTOMER SUPPLIED.
2. PRIMARY SOURCE OF INPUT SUPPLY IS CONNECTED TO AC POWER SUPPLY AND SECONDARY SOURCE IS CONNECTED
TO DC CONVERTER.
3. A MAXIMUM OF 4 REDUNDANT PAIRS CAN BE CONNECTED TO INPUT AC/DC POWER.
4. THE SECONDARY SOURCE IS CONTINUOUSLY POWERED.
A2566
+
+
+
24 VDC
OUTPUT
EQP2410PS(–P) CONVERTER
SECONDARY POWER
See Notes 2 & 4
L
N
+
+
24 VDC
OUTPUT
EQP2120PS(–X) POWER SUPPLY
PRIMARY POWER
See Notes 1 & 2
IN
OUT
REDUNDANCY
MODULE
1
IN
OUT
REDUNDANCY
MODULE
1
2
CB
CB
G
+
+
+
24 VDC
OUTPUT
EQP2410PS(–P) CONVERTER
Figure 3-21C—Wiring Connections for a 20amp (Maximum) Power Supply with an AC Primary and DC Secondary Source
To EDIO or IDC
L
N
+
+
DC
OK
13 14
PS n
PHOENIX
QUINT-PS
L
N
+
+
DC
OK
13 14
PS 1
PHOENIX
QUINT-PS
L
N
+
+
DC
OK
13 14
PS
PHOENIX
QUINT-PS
L
N
+
+
DC
OK
13 14
PS
PHOENIX
QUINT-PS
D2438
Figure 3-22—Power Supply and Converter Relays Wired in Series for Trouble Monitoring (up to 16 Power Supplies/Converters)

Table of Contents

Related product manuals