EasyManua.ls Logo

Hammer B3 - 11.3.6 Slot and Tenon Moulding; 11.3.7 Insert Moulding

Hammer B3
96 pages
Print Icon
To Next Page IconTo Next Page
To Next Page IconTo Next Page
To Previous Page IconTo Previous Page
To Previous Page IconTo Previous Page
Loading...
80
!
"
#
Saw-Spindle Moulder
B3 / B3 e-classic
Note: A ply-wood board has to be placed behind the workpiece so that it does not tear when slotting.
11.3.6 Slot and tenon moulding
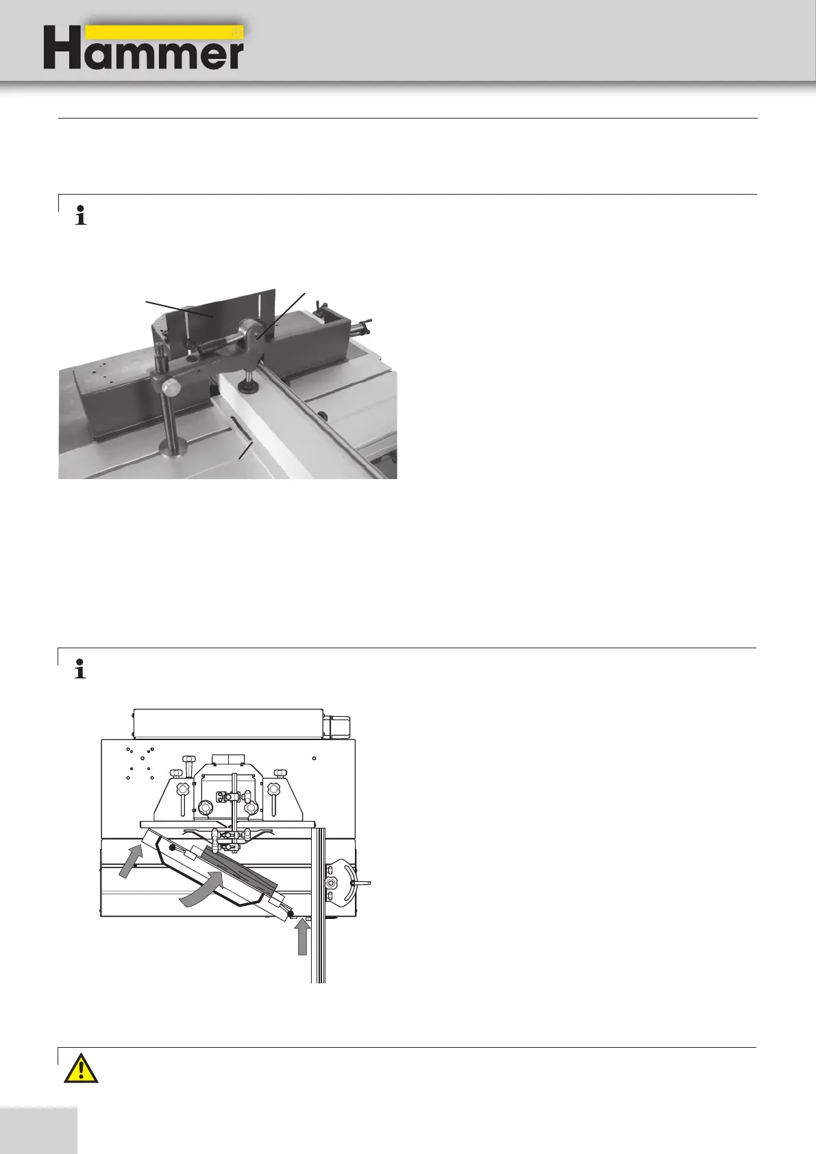
Fig. 11-7: Slot moulding
1. Take note of general procedures for authorized
working techniques.
2. Assemble the slot and tenon guard and the tenoning
plate (Accessories).
3. Using an eccentric clamp, tighten the workpiece onto
the tenoning plate close to the circle of cut.
4. Place the slotting guard as close as possible to the
workpiece.
5. Set the correct low speed.
6. Use the sliding table to feed the workpiece past the
spindle moulder tool.
7. If you are not going to continue working, switch off
the machine and secure it against being turned on
again accidentally.
!Slotting guard
"Eccentric clamp
#Tenoning plate
11.3.7 Insert moulding
Note: This step is necessary if the whole length of the workpiece is not machined.
1. Take note of general procedures for authorized
working techniques.
2. The guides of the spindle moulder fence must be ali-
gned. Set if required.
3. Lock the sliding table.
4. Move the crosscut fence on the sliding table right up
to the guide of the spindle moulder fence and clamp
in place.
5. Leave the workpiece against the crosscut fence and
dip carefully into the rotating tool.
6. Once the workpiece is located against the spindle
moulder fence guide, press the workpiece against the
fence and the spindle table, and feed past the
spindle moulder tool with fingers and thumbs balled
into a fist.
7. If you are not going to continue working, switch off
the machine and secure it against being turned on
again accidentally.
Fig. 11-8: Insert moulding
Warning! Risk of injury! The crosscut fence serves as a kickback guard. Another appropriate kickback guard
may also be used..
Operation

Table of Contents

Related product manuals