EasyManua.ls Logo

HBM MX440B - Page 190

HBM MX440B
224 pages
Print Icon
To Next Page IconTo Next Page
To Next Page IconTo Next Page
To Previous Page IconTo Previous Page
To Previous Page IconTo Previous Page
Loading...
Functions and outputs
190 I3031-14.0 HBM: public Quantum
X
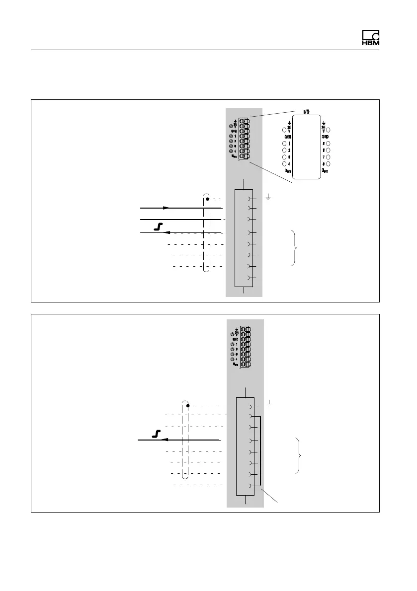
Examples of connections for MX879B
Digital output 24 V (1)
24 V
GND
1 32
2
3
4
U
INT
24 V
Ground
I/O
1
2
3
4
5
6
7
8
24 V
GND
1 32
2
3
4
U
INT
I/O
Digital output 5 V, internal (1)
Bridge
1
2
3
4
5
6
7
8

Table of Contents

Related product manuals