EasyManua.ls Logo

IAI MCON-C - Page 175

IAI MCON-C
480 pages
Print Icon
To Next Page IconTo Next Page
To Next Page IconTo Next Page
To Previous Page IconTo Previous Page
To Previous Page IconTo Previous Page
Loading...
165
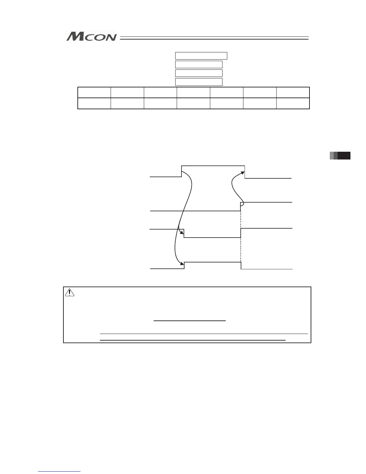
(6) Home return (HOME) PLC Output Signal
Home return completion (HEND) PLC Input Signal
Moving (MOVE) PLC Input Signal
Positioning complete (PEND) PLC Input Signal
Operation
Mode
Positioner 1 Simple Direct Direct numeric
specification
Positioner 2 Positioner 3 Positioner 5
{ : Equipped
×
: Not equipped
{ { { { { {
HOME Signal is a signal to conduct an automatic home-return operation.
Once HOME Signal is turned ON, this signal is processed as a rise (ON-edge), and the
actuator starts home-return operation. Once the home-return operation is completed, the
home-return operation complete signal HEND turns ON. The home return complete signal
HEND is kept ON unless the home position is lost. The positioning complete signal PEND
turns OFF and the moving signal MOVE turns ON during a home-return operation.
Home Return Signal
HOME
(PLC → MCON)
Homing Completion Signal
HEND
(MCON → PLC)
Positioning Completion Signal
PEND
(MCON → PLC)
Moving Signal
MOVE
(MCON → PLC)
Caution: If an actuator of Incremental Type is connected, and in Position * Mode and Simple
Direct Mode, when the positioning command is issued without performing the
home-return operation after the power is turned ON, the positioning can be
performed once only after the automatic home-return operation is executed.
Exercise caution that in the derect indication mode
, issuing a positioning command
to a given position following the power ON, without performing a home return first,
will generate an alarm “Error Code 83: ALARM HOME ABS (absolute position move
command when home return is not yet completed)” (operation-reset alarm).
3.7 Control and Functions of Input and Output Signals of Modes Other than Remote I/O Mode

Table of Contents

Other manuals for IAI MCON-C

Related product manuals