EasyManua.ls Logo

Lenovo ThinkSystem SR670 V2 - Page 317

Lenovo ThinkSystem SR670 V2
390 pages
To Next Page IconTo Next Page
To Next Page IconTo Next Page
To Previous Page IconTo Previous Page
To Previous Page IconTo Previous Page
Loading...
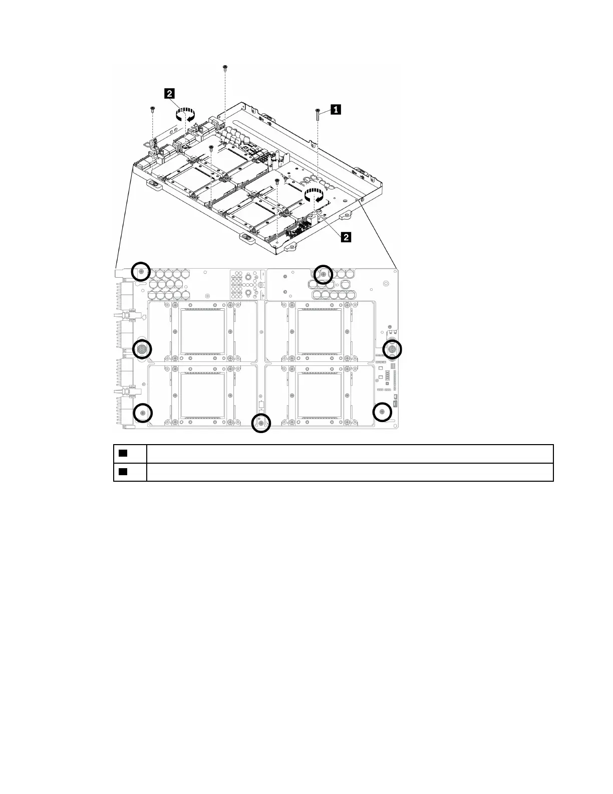
1
Phillips #2 screw (18mm)
2
Torx T10 screw (captive screw)
Figure 243. Installing the SXM GPU board
Step 3. Apply new thermal grease to the SXM GPU board.
a. If there is any old thermal grease on the cold plates, gently clean the top of the cold plates with
an alcohol cleaning pad.
b. If you have cleaned the top of the GPUs with an alcohol cleaning pad, make sure to apply the
new thermal grease after the alcohol has fully evaporated. Apply new thermal grease (1.5 g) to
the top of each of the four GPUs.
Chapter 4. Hardware replacement procedures 309

Table of Contents

Related product manuals