EasyManua.ls Logo

LUMENIS VersaPulse PowerSuite - YAG Cavity Layout

LUMENIS VersaPulse PowerSuite
178 pages
Print Icon
To Next Page IconTo Next Page
To Next Page IconTo Next Page
To Previous Page IconTo Previous Page
To Previous Page IconTo Previous Page
Loading...
9HUVD3XOVHPowerSuite6HULHV6HUYLFH0DQXDO 7528%/(6+227,1*
5(9% 
A
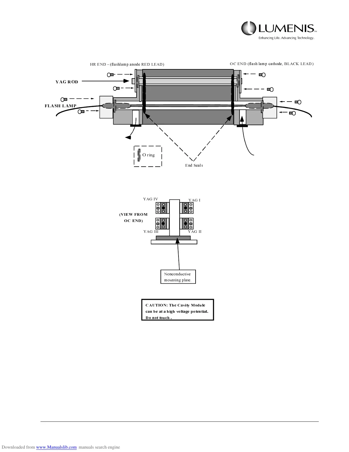
FIG. 5.6: YAG CAVITY LAYOUT
2ULQJ
<$*52 '
+5(1'IODVKODPSDQRGH5('/($'
2&(1'IODVKODPSFDWKRGH%/$&./($'
)/$ 6+/$ 0 3
(QG6HDOV
<$*,
<$*,,<$*,,,
<$*,9
9 , (:) 52 0
2&(1'
1 RQFRQGX FWLYH
P RXQWLQJSODWH
&$87,217KH&DYLW\0RGXOH
FDQEHDWDKLJKYROWDJHSRWHQWLDO
'RQRWWRXFK

Table of Contents

Related product manuals